欢迎来到知嘟嘟! 联系电话:13336804447 卖家免费入驻,海量在线求购! 卖家免费入驻,海量在线求购!
知嘟嘟
我要发布
联系电话:13336804447
知嘟嘟经纪人
收藏
专利号: 2022206427034
申请人: 马越
专利类型:实用新型
专利状态:已下证
专利领域: 基本上无切削的金属机械加工;金属冲压
更新日期:2025-07-02
缴费截止日期: 暂无
价格&联系人
年费信息
委托购买

摘要:

权利要求书:

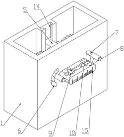
1.一种用于金属镜框的折弯装置,包括定位座(1)以及位于定位座(1)内部的电动推杆(2),其特征在于:所述定位座(1)的内部转动连接有两个转杆(3),两个所述转杆(3)上均设有齿轮(4),所述电动推杆(2)上连接有齿条(5),所述齿条(5)位于两个齿轮(4)之间,且所述齿条(5)与两个齿轮(4)相啮合,所述定位座(1)上开设有弧形槽(6),两个所述齿轮(4)上的设有压杆(7),所述压杆(7)贯穿于弧形槽(6)且延伸至定位座(1)的外侧,所述定位座(1)上设有调节座(8),所述调节座(8)内活动连接有两个放置座(9),所述放置座(9)上开设有放置槽(10)。

2.如权利要求1所述的一种用于金属镜框的折弯装置,其特征在于:所述调节座(8)的内部转动连接有双向丝杆(11),所述双向丝杆(11)的两端分别贯穿于两个放置座(9)且与两个放置座(9)螺纹连接。

3.如权利要求1所述的一种用于金属镜框的折弯装置,其特征在于:所述压杆(7)的圆周外壁上设有第一保护垫(12),所述放置槽(10)的内部设有第二保护垫(13)。

4.如权利要求1所述的一种用于金属镜框的折弯装置,其特征在于:所述定位座(1)的内壁上开设有滑槽(14),所述齿条(5)通过滑槽(14)与定位座(1)滑动连接。

5.如权利要求1所述的一种用于金属镜框的折弯装置,其特征在于:所述调节座(8)上设有刻度尺(15)。

6.如权利要求2所述的一种用于金属镜框的折弯装置,其特征在于:所述双向丝杆(11)的中部设有调节螺母(16)。