欢迎来到知嘟嘟! 联系电话:13336804447 卖家免费入驻,海量在线求购! 卖家免费入驻,海量在线求购!
知嘟嘟
我要发布
联系电话:13336804447
知嘟嘟经纪人
收藏
专利号: 2023216605935
申请人: 鹰潭晶威眼镜有限公司
专利类型:实用新型
专利状态:已下证
专利领域: 基本上无切削的金属机械加工;金属冲压
更新日期:2024-12-13
缴费截止日期: 暂无
价格&联系人
年费信息
委托购买

摘要:

权利要求书:

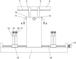
1.一种金属眼镜框加工用弯框装置,其特征在于,包括底座(1)和支撑柱(2):所述底座(1)的上端中心处设置有支撑柱(2),所述支撑柱(2)的内部设置有压制机构,所述支撑柱(2)的内部设置有延伸机构,所述延伸机构的侧面设置有夹持机构,所述底座(1)的山表明设置有移动结构,所述移动结构的上端设置有弯折机构。

2.根据权利要求1所述的一种金属眼镜框加工用弯框装置,其特征在于:所述压制机构包括固定槽(3)、固定弹簧(4)、固定柱(5)和压制板(6),所述固定槽(3)开设在支撑柱(2)的内部,所述固定槽(3)的内部滑动设置有固定柱(5),所述固定柱(5)的外侧设置有固定弹簧(4),所述固定弹簧(4)位于固定槽(3)的内部,所述固定柱(5)位于固定槽(3)外部的一端连接在压制板(6)的侧面。

3.根据权利要求2所述的一种金属眼镜框加工用弯框装置,其特征在于:所述压制板(6)的下端设置有缓冲层(7),所述缓冲层(7)由橡胶材料构成。

4.根据权利要求1所述的一种金属眼镜框加工用弯框装置,其特征在于:所述延伸机构包括第一齿轮(8)、第二齿轮(9)、第一丝杆(10)和延伸板(11),所述第一齿轮(8)转动设置在支撑柱(2)的内部,所述第一齿轮(8)的侧面啮合连接有2个第二齿轮(9),所述第二齿轮(9)的侧面设置有第一丝杆(10),所述第一丝杆(10)的外侧螺纹设置有延伸板(11),2个所述延伸板(11)对称滑动设置在支撑柱(2)的内部。

5.根据权利要求4所述的一种金属眼镜框加工用弯框装置,其特征在于:所述夹持机构包括顶杆(12),所述顶杆(12)设置在延伸板(11)的上端。

6.根据权利要求1所述的一种金属眼镜框加工用弯框装置,其特征在于:所述移动结构包括电动机(13)、第二丝杆(14)和滑块(15),所述电动机(13)设置在底座(1)的侧面,所底座(1)的内部转动设置有第二丝杆(14),所述电动机(13)的输出端与第二丝杆(14)相连接,所述第二丝杆(14)的两侧螺纹方向相反,所述第二丝杆(14)的外侧连接有滑块(15),所述滑块(15)与底座(1)为滑动连接。

7.根据权利要求6所述的一种金属眼镜框加工用弯框装置,其特征在于:所述弯折机构包括电动推杆(16)、固定架(17)、微型电机(18)、固定辊(19)和阻力线(20),所述滑块(15)的上端对称设置有2个电动推杆(16),所述电动推杆(16)的伸出端连接有固定架(17),所述固定架(17)的外侧设置有微型电机(18),所述固定架(17)的内部设置有固定辊(19),所述固定辊(19)的外侧设置有呈螺旋状的阻力线(20),且两侧的固定辊(19)表面的阻力线(20)方向相反。