欢迎来到知嘟嘟! 联系电话:13095918853 卖家免费入驻,海量在线求购! 卖家免费入驻,海量在线求购!
知嘟嘟
我要发布
联系电话:13095918853
知嘟嘟经纪人
收藏
专利号: 2020107051461
申请人: 宁波宏诺汽车零部件科技有限公司
专利类型:发明专利
专利状态:已下证
专利领域: 基本上无切削的金属机械加工;金属冲压
更新日期:2024-02-23
缴费截止日期: 暂无
价格&联系人
年费信息
委托购买

摘要:

权利要求书:

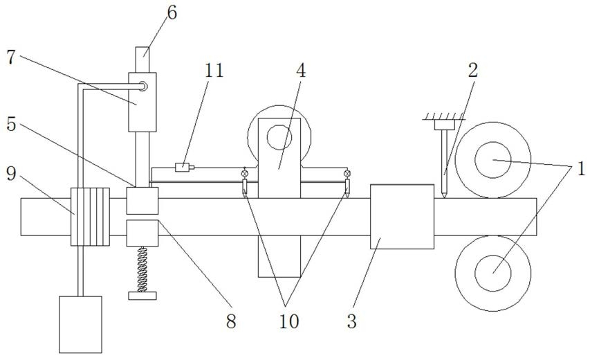
1.一种眼镜金属框架弯圈机,包括送线轮(1)、加热器(3)、折弯机构(4)和成型机构(5),所述送线轮(1)用于推送线料,所述加热器(3)用于给线料加热,所述折弯机构(4)和成型机构(5)分别位于线料的侧面和上方,其特征在于:所述线料的一侧设有涂针(2),所述涂针(2)的一端与线料的表面相接触并在线料的表面涂设有涂层(201),所述线料的一侧设有与涂层(201)位置相对应的导电针(10),所述成型机构(5)包括超声波发生器(6)、施力机构(7)和压固组件(8),所述压固组件(8)设置在施力机构(7)的下方,所述超声波发生器(6)位于施力机构(7)远离压固组件(8)的一端,所述压固组件(8)与线料的表面相接触。

2.根据权利要求1所述的一种眼镜金属框架弯圈机,其特征在于:所述施力机构(7)包括由固定管(701)、活塞头(702)和推杆(703)构成的活塞结构,所述活塞头(702)的两侧分别设为液腔(704)和气腔(705),所述推杆(703)与压固组件(8)的顶部相连接。

3.根据权利要求2所述的一种眼镜金属框架弯圈机,其特征在于:所述压固组件(8)包括上压板(801)和下压板(802),所述上压板(801)和下压板(802)分别位于线料的上下两侧,所述上压板(801)固定连接在推杆(703)的下方,所述下压板(802)的上表面与线料的下表面形状相匹配,所述上压板(801)的内部设有导电针(10),所述下压板(802)的内部开设有空腔(810),所述下压板(802)与线料接触的侧壁开设有与空腔(810)贯通的气孔(811),所述空腔(810)与气腔(705)通过气管相连通且气流仅可从空腔(810)向气腔(705)流动。

4.根据权利要求1所述的一种眼镜金属框架弯圈机,其特征在于:所述成型机构(5)的侧面设有冷却环(9),所述冷却环(9)成环状,所述线料贯穿冷却环(9)的内部且冷却环(9)的内壁与线料的表面贴紧,所述冷却环(9)的内腔与液腔(704)贯通连接。

5.根据权利要求1所述的一种眼镜金属框架弯圈机,其特征在于:所述导电针(10)位于折弯机构(4)的两侧和压固组件(8)的内部,所述导电针(10)通过导线并联,所述导电针(10)的电路上均串联警示器。

6.根据权利要求3所述的一种眼镜金属框架弯圈机,其特征在于:所述导电针(10)的底面与上压板(801)的底面相齐平,所述导电针(10)与压固组件(8)同步振动,所述导电针(10)的主电路连接有电流发生器(11),所述电流发生器(11)与超声波发生器(6)的信号发射频率相同。

7.根据权利要求3所述的一种眼镜金属框架弯圈机,其特征在于:所述位于上压板(801)内的导电针(10)的上方固定连接有弹簧(12),所述弹簧(12)伸长时所述导电针(10)移出上压板(801)的内部。