欢迎来到知嘟嘟! 联系电话:13336804447 卖家免费入驻,海量在线求购! 卖家免费入驻,海量在线求购!
知嘟嘟
我要发布
联系电话:13336804447
知嘟嘟经纪人
收藏
专利号: 202010038236X
申请人: 长安大学
专利类型:发明专利
专利状态:已下证
专利领域: 测量;测试
更新日期:2024-01-05
缴费截止日期: 暂无
价格&联系人
年费信息
委托购买

摘要:

权利要求书:

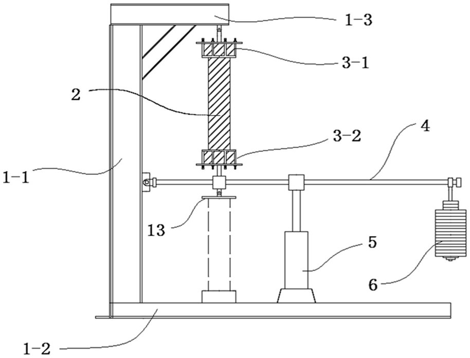
1.一种混凝土拉压双功能动力徐变试验装置,其特征在于:包括能够提供安装高度的试验平台(1),试验平台(1)包括底座(1-2)以及固定在底座(1-2)上的立柱(1-1),立柱(1-

1)的中部沿水平方向设置加载连杆(4),立柱(1-1)的顶部设置横杆(1-3),加载连杆(4)的杆身与横杆(1-3)之间设置受拉徐变试验安装位置,加载连杆(4)的杆身与底座(1-2)之间设置受压徐变试验安装位置;受拉徐变试验安装位置设有连接混凝土柱试件(2)两端的固定托盘,受压徐变试验安装位置设有提供压力施加面的传力板(13);所述的加载连杆(4)上设置荷载托盘(6),加载连杆(4)的杆身与底座(1-2)之间支撑设置变荷载作动器(5)。

2.根据权利要求1所述的混凝土拉压双功能动力徐变试验装置,其特征在于:所述的立柱(1-1)两侧分别设置有斜撑(7),斜撑(7)的一端连接在立柱(1-1)上,另一端连接在底座(1-2)上;所述横杆(1-3)的底面与立柱(1-1)之间连接有支撑杆。

3.根据权利要求1所述的混凝土拉压双功能动力徐变试验装置,其特征在于:所述的固定托盘包括上固定托盘(3-1)和下固定托盘(3-2),上固定托盘(3-1)的顶部悬挂铰接在横杆(1-3)上,所述加载连杆(4)的一端与立柱(1-1)铰接,另一端悬挂荷载托盘(6)。

4.根据权利要求1所述的混凝土拉压双功能动力徐变试验装置,其特征在于:固定托盘包括托盘底板(10),托盘底板(10)的一侧表面通过托盘连杆分别与横杆(1-3)以及设置在加载连杆(4)杆身上的固定件相连,托盘底板(10)的另一侧表面设置用于扣合混凝土柱试件(2)端部的安装架(11),安装架(11)包括若干根竖向安装杆,竖向安装杆的一端通过高度调节组件固定在托盘底板(10)上,竖向安装杆的另一端通过横向安装杆衔接为一个整体。

5.根据权利要求4所述的混凝土拉压双功能动力徐变试验装置,其特征在于:所述竖向安装杆的一端穿过托盘底板(10)并加工为调节螺杆(9),调节螺杆(9)上安装调节螺母。

6.根据权利要求1所述的混凝土拉压双功能动力徐变试验装置,其特征在于:所述的底座(1-2)由若干根底座支撑杆组成,所述的底座支撑杆包括宽度方向支撑杆以及连接在宽度方向支撑杆上的两根长度方向支撑杆,所述的立柱(1-1)固定在宽度方向支撑杆的中部,在宽度方向支撑杆的中部与两根长度方向支撑杆之间分别连接有加固杆。

7.一种基于权利要求1-6中任一项所述混凝土拉压双功能动力徐变试验装置的试验方法,其特征在于,包括以下步骤:

1)浇筑混凝土柱试件(2),在受拉徐变试验的混凝土柱试件(2)两端加工凸起部;

2)待混凝土养生完成后将混凝土柱试件(2)进行安装,在混凝土柱试件(2)的表面中部沿长度方向安装长标距位移计,并记录初值L0;

3)当进行受拉徐变试验时,将混凝土柱试件(2)两端的凸起部安装到固定托盘上,将上固定托盘(3-1)的顶部悬挂铰接在横杆(1-3)上;当进行受压徐变试验时,将混凝土柱试件(2)放置于底座(1-2),混凝土柱试件(2)的顶端放置传力板(13),调平并接触密实;

4)安装加载连杆(4),当进行受拉徐变试验时,将下固定托盘(3-2)与加载连杆(4)固定;当进行受压徐变试验时,将传力板(13)与加载连杆(4)固定;

5)安装荷载托盘(6),分级逐步放置预制块至目标恒荷载,采集并分析长标距位移计弹性变形值,减去初值L0后,得到初始弹性变形值Le;

6)加载变荷载作动器(5)调试数据采集;

7)施加变荷载,持续采集并记录长标距位移计弹性变形值。

8.根据权利要求7所述的试验方法,其特征在于:

当分析某一时刻t的长期变形及徐变值时,先暂停变荷载作动器(5),在数据稳定后,采集长期变形Lt;此时混凝土柱试件(2)的长期相对变形为(Lt-Le),在排除混凝土的收缩变形Ls影响后,通过与初始弹性变形值Le对比得到变荷载影响下的徐变系数φ(t)=(Lt-Le-Ls)/Le。