欢迎来到知嘟嘟! 联系电话:13336804447 卖家免费入驻,海量在线求购! 卖家免费入驻,海量在线求购!
知嘟嘟
我要发布
联系电话:13336804447
知嘟嘟经纪人
收藏
专利号: 2013104418905
申请人: 燕山大学
专利类型:发明专利
专利状态:已下证
专利领域: 测量;测试
更新日期:2024-01-05
缴费截止日期: 暂无
价格&联系人
年费信息
委托购买

摘要:

权利要求书:

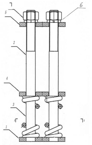
1.一种混凝土徐变的测试方法,其特征在于:

⑴应用小型弹簧徐变仪加载5~16mm粒径的粗骨料制作的40mm×40mm×160mm混凝土试件,其徐变度与采用5~25mm粒径的粗骨料制作的100mm×100mm×400mm试件的徐变度存在很好的相关性;⑵采用万能压力试验机对试件进行加载;

⑶通过试件粘贴的应变片与静态电阻应变仪配合监控施加载荷的大小;

⑷弹簧式压缩徐变机构上板置球半垫,先加压至徐变控制荷载的20%进行预加载与对中,试件对中后应将荷载加至徐变应力后卸载,此时试件四面的变形相差应小于其平均值的10%,如超出此范围,应重新调整;

⑸正式加载,经数次加载循环,最后将一次加载,四面的变形相差应小于其平均值的

10%的,平均应变与上一次加载相差值小于1%,后加载至控制载荷;⑹加载过程应控制在2小时以内,防止试件加载的过程中因水分蒸发与温度变化对徐变产生的影响;

⑺试件加载后按编号置入恒温恒湿室内,按照预定龄期进行连续观测。