欢迎来到知嘟嘟! 联系电话:13336804447 卖家免费入驻,海量在线求购! 卖家免费入驻,海量在线求购!
知嘟嘟
我要发布
联系电话:13336804447
知嘟嘟经纪人
收藏
专利号: 2022211905854
申请人: 三峡大学
专利类型:实用新型
专利状态:已下证
专利领域: 测量;测试
更新日期:2024-05-15
缴费截止日期: 暂无
价格&联系人
年费信息
委托购买

摘要:

权利要求书:

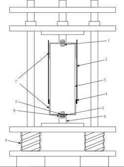
1.一种混凝土水中单轴拉伸徐变试验可重复使用装置,它包括混凝土徐变拉伸仪,其特征在于:所述混凝土徐变拉伸仪的上下工作台分别安装有连接座(6),两个桶状罩壳(7)开口相对的设置于上下连接座(6)处,盛水罩(2)为两端开口的环形,贴合的套设在两个罩壳(7)的外部,且底端与下方的罩壳(7)密封连接。

2.根据权利要求1所述的一种混凝土水中单轴拉伸徐变试验可重复使用装置,其特征在于:所述上下罩壳(7)通过待测试件(3)分别固定在上下连接座(6)处。

3.根据权利要求2所述的一种混凝土水中单轴拉伸徐变试验可重复使用装置,其特征在于:所述待测试件(3)两端面分别预埋有螺杆(1),上方的罩壳(7)穿过待测试件(3)上方的螺杆(1)放置在待测试件(3)的上端面,下方的罩壳(7)穿过待测试件(3)下方的螺杆(1),通过密闭螺母(8)压在待测试件(3)的下端面;所述连接座(6)设有带内螺纹的突出部,待测试件(3)通过两端的螺杆(1)分别与上下连接座(6)的突出部连接固定;所述密闭螺母(8)与待测试件(3)下方的螺杆(1)连接处设有密封结构(5)。

4.根据权利要求3所述的一种混凝土水中单轴拉伸徐变试验可重复使用装置,其特征在于:所述密封结构(5)为套设在待测试件(3)下方的螺杆(1)上的橡胶圈或橡胶垫。

5.根据权利要求1所述的一种混凝土水中单轴拉伸徐变试验可重复使用装置,其特征在于:所述盛水罩(2)为塑料膜或带有伸缩节的塑料环。

6.根据权利要求1‑5任意一项所述的一种混凝土水中单轴拉伸徐变试验可重复使用装置,其特征在于:所述混凝土徐变拉伸仪底部设有减震装置(9)。

7.根据权利要求6所述的一种混凝土水中单轴拉伸徐变试验可重复使用装置,其特征在于:所述减震装置(9)为弹簧柱。

8.根据权利要求1所述的一种混凝土水中单轴拉伸徐变试验可重复使用装置,其特征在于:所述盛水罩(2)底端与下方的罩壳(7)通过聚脲防水(4)密封连接。