欢迎来到知嘟嘟! 联系电话:13336804447 卖家免费入驻,海量在线求购! 卖家免费入驻,海量在线求购!
知嘟嘟
我要发布
联系电话:13336804447
知嘟嘟经纪人
收藏
专利号: 2014101785184
申请人: 长安大学
专利类型:发明专利
专利状态:已下证
专利领域: 测量;测试
更新日期:2024-01-05
缴费截止日期: 暂无
价格&联系人
年费信息
委托购买

摘要:

权利要求书:

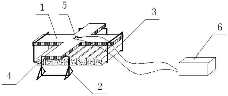
1.一种混凝土剪切徐变系数的测试装置,其特征在于:包括用于支承十字梁试件(1)的一条长边、并能够使十字梁试件(1)的支承端沿支承线转动的支架(2),十字梁试件(1)的另一条长边上安装放置有加载重(4)的加载托架(3);

所述的十字梁试件(1)的中心交叉位置分别沿所在长边布置有应变传感器(5),应变传感器(5)通过导线将采集到的信号传送给采集机箱(6)。

2.根据权利要求1所述的混凝土剪切徐变系数的测试装置,其特征在于:所述的支架(2)为焊接钢材或台座式结构。

3.一种混凝土剪切徐变系数的测试方法,其特征在于:

第一步,制作十字梁试件(1),按照目标加载龄期t0将十字梁试件(1)的一条长边置于支架(2)上;

第二步,在十字梁试件(1)的中心交叉位置分别沿所在长边各布置一组应变传感器(5),并将两组应变传感器(5)通过导线与采集机箱(6)连接,得到空载受压应变εc1以及空载受拉应变εt1;

第三步,在十字梁试件(1)的另一条长边上安装加载托架(3),并在加载托架(3)上放置加载重(4),采集加载后的应变εc2和εt2,计算得到两组应变传感器(5)在加载龄期的弹性应变εc0=εc2-εc1和εt0=εt2-εt1;

第四步,对十字梁试件(1)的应变数据进行长期连续采集,某一时刻t的长期总应变εct、εtt等于该时刻的应变数据减去空载数据εc1和εt1,某一时刻t的剪切徐变则加载龄期为t0的混凝土在t时刻的剪切徐变系数 其中γ0为初始剪切变形,由εc0和εt0利用公式 计算得到。

4.根据权利要求3所述的混凝土剪切徐变系数的测试方法,其特征在于:所述的十字梁试件(1)初始弹性应变小时直接采用素混凝土制作;初始弹性应变大时沿十字梁的长边配置钢筋。