欢迎来到知嘟嘟! 联系电话:13336804447 卖家免费入驻,海量在线求购! 卖家免费入驻,海量在线求购!
知嘟嘟
我要发布
联系电话:13336804447
知嘟嘟经纪人
收藏
专利号: 2019213766375
申请人: 沭阳县桂林木业有限公司
专利类型:实用新型
专利状态:已下证
专利领域: 干燥
更新日期:2024-03-14
缴费截止日期: 暂无
价格&联系人
年费信息
委托购买

摘要:

权利要求书:

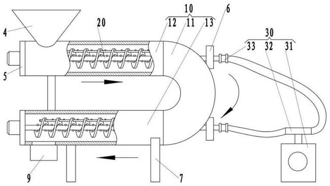
1.一种刨花板原料的搅拌烘干装置,包括:U形筒,所述U形筒包括弧形管、连接在弧形管两端的上圆管和下圆管,其特征在于,还包括两个螺旋搅拌出风组件和与螺旋搅拌出风组件连接的热风供给组件;所述上圆管和下圆管内均设置有所述的螺旋搅拌出风组件,适于将U形筒内的刨花板原料搅拌烘干;所述螺旋搅拌出风组件包括空心轴、L形管和套装在空心轴上的螺旋叶片,所述L形管水平穿设在螺旋叶片上,且一端与空心轴的内孔连通,另一端连接有圆封板,所述空心轴上间隔连接有若干第一喷气嘴,所述L形管上连接有若干第二喷气嘴,所述空心轴的一端连接有电机。2.根据权利要求1所述的刨花板原料的搅拌烘干装置,其特征在于,所述热风供给组件包括电加热风机、三通接头和两个转动接头,所述三通接头与电加热风机的出风口连接,所述转动接头与空心轴远离电机的一端连接,所述三通接头与转动接头之间通过管道连接。3.根据权利要求1所述的刨花板原料的搅拌烘干装置,其特征在于,所述上圆管的左上端连接有锥形下料斗。4.根据权利要求1所述的刨花板原料的搅拌烘干装置,其特征在于,所述上圆管和下圆管远离弧形管的一端均固定连接有圆形轴承座,所述弧形管上间隔固定连接有两个方形轴承座,所述圆形轴承座和方形轴承座之间转动连接有所述的空心轴。5.根据权利要求1所述的刨花板原料的搅拌烘干装置,其特征在于,所述下圆管的下端间隔连接有两块支撑板,所述支撑板的顶端设置有弧形槽。6.根据权利要求1所述的刨花板原料的搅拌烘干装置,其特征在于,所述下圆管的下端靠近圆形轴承座的一端连接有出料管。