欢迎来到知嘟嘟! 联系电话:13336804447 卖家免费入驻,海量在线求购! 卖家免费入驻,海量在线求购!
知嘟嘟
我要发布
联系电话:13336804447
知嘟嘟经纪人
收藏
专利号: 2019213069925
申请人: 沭阳县桂林木业有限公司
专利类型:实用新型
专利状态:已下证
专利领域: 干燥
更新日期:2024-02-28
缴费截止日期: 暂无
价格&联系人
年费信息
委托购买

摘要:

权利要求书:

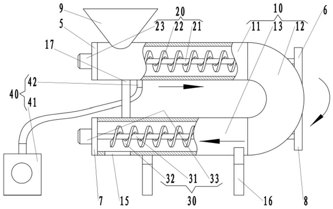
1.一种用于刨花板原料的烘干装置,其特征在于,包括:U型管道,所述U型管道包括依次连接的上圆管、弧形圆管和下圆管;

所述上圆管内设置有上螺旋组件,适于将上圆管内的刨花板原料向弧形圆管旋转移动;

所述下圆管内设置有下螺旋组件,适于将弧形圆管内的刨花板原料向下圆管远离弧形圆管的一端螺旋移动;

还包括与上圆管连通的加热组件,适于将螺旋移动的刨花板原料烘干。

2.根据权利要求1所述的用于刨花板原料的烘干装置,其特征在于,所述上螺旋组件包括上转轴、上螺旋叶片和连接在上转轴一端的第一电机,所述上螺旋叶片套装在上转轴上且与其固定连接。

3.根据权利要求1所述的用于刨花板原料的烘干装置,其特征在于,所述下螺旋组件包括下转轴、下螺旋叶片和连接在下转轴一端的第二电机,所述下螺旋叶片套装在下转轴上且与其固定连接。

4.根据权利要求2所述的用于刨花板原料的烘干装置,其特征在于,所述上转轴的两端分别转动连接有第一轴承座和第二轴承座,所述第一轴承座与上圆管远离弧形圆管的一端连接,所述第二轴承座与所述的弧形圆管固定连接。

5.根据权利要求3所述的用于刨花板原料的烘干装置,其特征在于,所述下转轴的两端分别转动连接有第三轴承座和第四轴承座,所述第三轴承座与下圆管远离弧形圆管的一端连接,所述第四轴承座与所述的弧形圆管固定连接。

6.根据权利要求1所述的用于刨花板原料的烘干装置,其特征在于,所述加热组件包括电加热风机和连接在上圆管上的进气管,所述电加热风机和进气管通过管道连接。

7.根据权利要求1所述的用于刨花板原料的烘干装置,其特征在于,所述上圆管的顶端连接有圆锥形进料斗。

8.根据权利要求3所述的用于刨花板原料的烘干装置,其特征在于,所述下圆管靠近第二电机的一端设置有出料口。

9.根据权利要求1所述的用于刨花板原料的烘干装置,其特征在于,所述下圆管的底端间隔固定连接有两个V形支架。