欢迎来到知嘟嘟! 联系电话:13336804447 卖家免费入驻,海量在线求购! 卖家免费入驻,海量在线求购!
知嘟嘟
我要发布
联系电话:13336804447
知嘟嘟经纪人
收藏
专利号: 2022234398924
申请人: 江苏致宏木业有限公司
专利类型:实用新型
专利状态:已下证
专利领域: 干燥
更新日期:2025-01-09
缴费截止日期: 暂无
价格&联系人
年费信息
委托购买

摘要:

权利要求书:

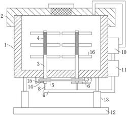
1.一种刨花板木料干燥器,其特征在于:包括干燥箱(1),所述干燥箱(1)的上端盖设有箱盖(2),所述干燥箱(1)的下方设有底座(12),所述干燥箱(1)与底座(12)之间均匀连接有多个伸缩结构(13),且伸缩结构(13)可带动干燥箱(1)升降,所述干燥箱(1)的底部气密转动连接有两个管轴(3),所述管轴(3)的上端封闭、下端开放,所述管轴(3)的外表面均匀开设有多个出气孔(4),两个所述管轴(3)连接有链传动结构(5),其中一个所述管轴(3)固定连接有拨杆(14),所述干燥箱(1)的底端通过杆体安装有延时开关(15),且延时开关(15)与伸缩结构(13)连接,另一个所述管轴(3)通过齿轮组(6)传动连接有旋转电机(7),且旋转电机(7)固定安装在干燥箱(1)的底端,所述管轴(3)的下端气密转动连接有进气管(8),所述进气管(8)通过流动管路(9)连接有热风机(11),且热风机(11)固定安装在干燥箱(1)的外侧。

2.根据权利要求1所述的一种刨花板木料干燥器,其特征在于:所述干燥箱(1)的内壁连通有下料管,所述箱盖(2)的上端开设有进料口,所述进料口处气密塞紧有密封塞。

3.根据权利要求1所述的一种刨花板木料干燥器,其特征在于:所述伸缩结构(13)由固定筒(131)、伸缩杆(132)、限位板(133)、弹簧(134)、电磁装置(135),所述伸缩杆(132)的一端与限位板(133)固定连接、另一端与干燥箱(1)的底端固定连接,且伸缩杆(132)贯穿固定筒(131)设置,所述固定筒(131)与底座(12)固定连接,所述限位板(133)与固定筒(131)滑动连接,且限位板(133)采用铁磁性材料做成,所述固定筒(131)、限位板(133)与弹簧(134)的两端抵接,所述电磁装置(135)固定安装在固定筒(131)内壁,所述弹簧(134)位于电磁装置(135)外侧。

4.根据权利要求1所述的一种刨花板木料干燥器,其特征在于:各所述管轴(3)同轴固定套接有链轮,两个所述链轮共同张紧套接有链条,所述齿轮组(6)由两个相互啮合的齿轮构成,其中一个所述齿轮同轴固定套接在管轴(3)上,另一个所述齿轮同轴固定连接在旋转电机(7)的输出端上。

5.根据权利要求1所述的一种刨花板木料干燥器,其特征在于:所述管轴(3)的外表面均匀固定连接有多对撞击杆(16)。

6.根据权利要求1所述的一种刨花板木料干燥器,其特征在于:所述干燥箱(1)的外侧面固定安装有吸水装置(10),所述吸水装置(10)通过管道与热风机(11)的进风端连通,所述吸水装置(10)通过管道与箱盖(2)连通。