欢迎来到知嘟嘟! 联系电话:13336804447 卖家免费入驻,海量在线求购! 卖家免费入驻,海量在线求购!
知嘟嘟
我要发布
联系电话:13336804447
知嘟嘟经纪人
收藏
专利号: 2019213065869
申请人: 沭阳县桂林木业有限公司
专利类型:实用新型
专利状态:已下证
专利领域: 干燥
更新日期:2024-03-14
缴费截止日期: 暂无
价格&联系人
年费信息
委托购买

摘要:

权利要求书:

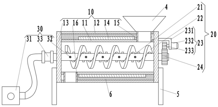
1.一种用于刨花板原料的烘干装置,其特征在于,包括:加热圆筒组件、螺旋传输组件和热气烘干组件;所述螺旋传输组件位于加热圆筒组件内且与其转动连接,适于将加热圆筒组件内的刨花板原料从一端螺旋移动到另一端;所述热气烘干组件与螺旋传输组件连接,适于将螺旋移动的刨花板原料烘干;所述加热圆筒组件包括内圆管、两块圆封板和套装在内圆管外侧的外圆管,所述内圆管和外圆管的两端分别密封连接有所述的圆封板,所述内圆管的外圆包裹有弧形电加热板。2.根据权利要求1所述的用于刨花板原料的烘干装置,其特征在于,所述螺旋传输组件包括空心轴、套装在空心轴上的螺旋叶片和驱动空心轴转动的驱动件,所述空心轴的一端密封且外圆套装有从动齿轮。3.根据权利要求2所述的用于刨花板原料的烘干装置,其特征在于,所述驱动件包括L形安装板、安装在L形安装板上的电机和套装在电机输出轴上的主动齿轮,所述L形安装板与所述的圆封板固定连接,所述主动齿轮与所述的从动齿轮啮合连接。4.根据权利要求2所述的用于刨花板原料的烘干装置,其特征在于,所述热气烘干组件包括电加热风机、若干喷气嘴和连接在空心轴另一端的转动接头,所述喷气嘴间隔设置且与空心轴连接,所述电加热风机和转动接头之间通过管道连接。5.根据权利要求1所述的用于刨花板原料的烘干装置,其特征在于,所述加热圆筒组件还包括进料圆管和出料圆管,所述进料圆管穿设在加热圆筒组件的右上端,所述出料圆管穿设在加热圆筒组件的左下端,所述进料圆管的上端固定连接有圆锥进料斗。6.根据权利要求1所述的用于刨花板原料的烘干装置,其特征在于,所述加热圆筒组件的两端分别固定连接有V型支撑板。