欢迎来到知嘟嘟! 联系电话:13336804447 卖家免费入驻,海量在线求购! 卖家免费入驻,海量在线求购!
知嘟嘟
我要发布
联系电话:13336804447
知嘟嘟经纪人
收藏
专利号: 2018115641228
申请人: 中国矿业大学
专利类型:发明专利
专利状态:已下证
专利领域: 测量;测试
更新日期:2024-01-05
缴费截止日期: 暂无
价格&联系人
年费信息
委托购买

摘要:

权利要求书:

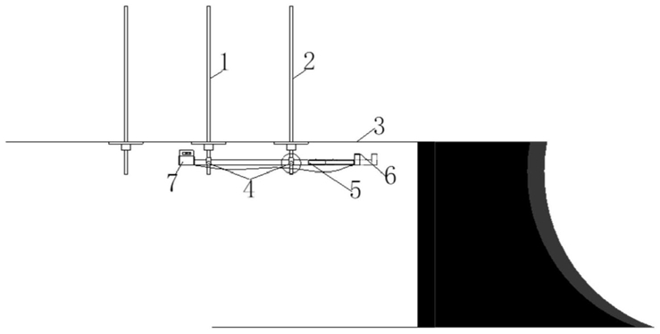
1.一种巷道迎头极限空顶距测量装置,其特征在于:包括固定机具(4)、测杆(5)和采集仪,其中固定机具与设置在巷道顶板上锚杆尾部匹配,测杆通过固定机具与巷道顶板上锚杆固定,采集仪放置在测杆两端仪器盒中;

所述固定机具(4)包括套筒(8)、紧固阀(9)和焊接架(10),其中套筒(8)的内径与巷道顶板上锚杆外露端直径相匹配,第一排锚杆(1)和第二排锚杆(2)以掘进方向为前,套筒(8)上设有活动连接的焊接架(10)和用以固定/松开焊接架(10)的紧固阀(9),所述测杆(5)包括数据存储盒(11)、激光发射盒(12)、伸缩杆(13)、主体杆(14)和凹槽(15),其中伸缩杆(13)嵌套在主体杆(14)前端形成一体,主体杆(14)后端设有数据存储盒(11),伸缩杆(13)前端设有激光发射盒(12),主体杆(14)上设有与前排锚杆(1)上的固定机具焊接架(10)匹配的凹槽(15),伸缩杆(13)通过在主体杆(14)上滑动来改变整体长度;

所述采集仪包括激光发射仪器(6)和数据存储仪器(7),其中激光发射仪器(6)设置在激光发射盒(12)内,所述激光发射仪器(6)的激光口垂直指向顶板,利用发射激光检测迎头顶板下沉量,数据存储仪器(7)设在数据存储盒(11)内,预防顶板矸石掉落造成损坏,激光发射仪器(6)与数据存储仪器(7)之间通过导线连接。

2.根据权利要求1所述的巷道迎头极限空顶距测量装置,其特征在于;所述的适用于掘进巷道围岩松动圈小于1m条件,则迎头顶板第一排锚杆(1)与第二排锚杆(2)在监测过程中下沉量可忽略。

3.根据权利要求1所述的巷道迎头极限空顶距测量装置,其特征在于:所述固定机具(4)应在迎头空顶区中心测点(3)监测过程中一直保持固定在原位,避免数据收集错误。

4.根据权利要求1所述的巷道迎头极限空顶距测量装置,其特征在于:所述的测杆(5)在测量过程中,放置在前排锚杆(1)上的固定机具(4)使凹槽(15)嵌入焊接架(10)上,避免测杆(5)在监测过程中产生滑动或转动。

5.一种使用权利要求1所述巷道迎头极限空顶距测量装置的测量方法,其特征在于步骤如下:

a.以掘进面为起点同时以迎头方向为前方,将准备两个固定机具(4)的套筒(8)分别套入迎头同一纵排前两排中部或靠近中部的第一排锚杆(1)和第二排锚杆(2)的外露端,转动紧固阀(9)固定,使两个固定机具(4)的相对位置与巷道中轴线平行;

b.将激光发射仪器(6)和数据存储仪器(7)分别安装在测杆(5)的激光发射盒(12)和数据存储盒(11)中,利用导线相互连接;

c.将测杆(5)放置在两个固定机具(4)的焊接架(10)上,并使凹槽(15)嵌入设置在前排锚杆(1)上设置的焊接架(10)上,调整另外一个焊接架(10)使伸缩杆(13)水平设置,调节伸缩杆(13)使激光发射仪器(6)能够测量到迎头空顶区中心或接近中心的点,标记为测点(3),采集仪开始进行采集、存储测点(3)与激光发射仪器(6)在不同时间点的距离;

d.数据采集0~24h后,将数据整理成时间与距离的折线统计图,忽略掘进时顶板水平移动,分析测点(3)竖向最大的下沉量与最大下沉速度,判断竖向最大的下沉量与最大下沉速度是否同时满足安全要求,如果任意数据不满足则缩小迎头空顶距,重复步骤c,直至测点(3)处的下沉量与下沉速度等于安全临界值时,则此时空顶距为极限空顶距;

e.如果同时满足安全要求则通过增加迎头截割进尺,扩大空顶距,此时迎头空顶区域中心前移,同时测点(3)与伸缩杆(13)对应中心向前移动,移动距离为增加空顶距的一半,再重复步骤a~d进行相同的采集、存储、整理、分析数据。