欢迎来到知嘟嘟! 联系电话:13336804447 卖家免费入驻,海量在线求购! 卖家免费入驻,海量在线求购!
知嘟嘟
我要发布
联系电话:13336804447
知嘟嘟经纪人
收藏
专利号: 2018115914206
申请人: 中国矿业大学
专利类型:发明专利
专利状态:已下证
专利领域: 测量;测试
更新日期:2024-01-05
缴费截止日期: 暂无
价格&联系人
年费信息
委托购买

摘要:

权利要求书:

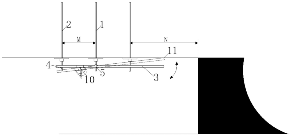
1.一种巷道迎头空顶区竖向下沉量监测装置,其特征在于:它包括连接机具和测杆(3)两部分;所述连接机具包括套筒(6)、紧固阀(7)和焊接架(8),所述套筒(6)为柱状空心结构,套筒(6)的内径与设置在巷道顶板上的锚杆尾部相互匹配,套筒(6)上设有焊接架(8)以及用以固定套筒(6)的紧固阀(7);所述测杆(3)为圆柱状杆体,杆体长度L利用公式:L≥2M+

0.5N确定,式中:M为巷道顶板锚杆的排距,N为巷道迎头空顶距,以掘进方向为前,则测杆(3)距杆体一端M处设有与焊接架(8)结构匹配的凹槽(9),距杆体同一端0.5M处设有坡度仪(10),杆体在放置时应遵循坡度仪距迎头较远原则放置。

2.根据权利要求1所述的巷道迎头空顶区竖向下沉量监测装置,其特征在于:所述的连接机具应在空顶区测点(11)利用过程中一直保持固定在原位。

3.一种使用权利要求1所述的巷道迎头空顶区竖向下沉量监测装置的使用方法,其特征在于步骤如下:

a.将连接机具Ⅰ(4)和连接机具Ⅱ(5)的套筒(6)分别套入迎头同一纵排正中间或者靠近正中间的第二横排锚杆(1)和第三横排锚杆(2)的外露端,使连接机具Ⅰ(4)和连接机具Ⅱ(5)的焊接架(8)在同一侧且平行,可使测杆(3)放上,转动紧固阀(7)固定;

b.将测杆(3)放置在连接机具Ⅰ(4)和连接机具Ⅱ(5)的焊接架(8)上,测杆(3)的凹槽(9)嵌入第二横排锚杆(1)的连接机具Ⅱ(5)的焊接架(8)上,调节连接机具Ⅰ(4)和连接机具Ⅱ(5)在第二横排锚杆(1)和第三横排锚杆(2)上的高度使测杆(3)处于水平放置;

c.将测杆(3)后端从后排焊接架(8)移出并下压,使测杆(3)前端接触迎头空顶区域中点或靠近中点的测点(11),记录此时的坡度仪(10)上的角度θ1;

d.测量结束后,将测杆(3)后端重新放回后排焊接架(8)上,且每0.5h~8h测量测点(11),记录坡度仪上的角度θ2(θ3θ4……θn);

e.利用公式:h=a1-a2(a3a4……an)=Lcosθ1-Lcosθ2(θ3θ4……θn)计算巷道顶板每次的竖向下沉总量h,式中a1代表第一次测量测杆竖向高度;a2代表第二次测量测杆竖向高度,an代表第n次测量测杆竖向高度,θ2为第二次坡度仪测量角度,θn为第n次坡度仪测量角度,L为测杆(3)固定长度。