欢迎来到知嘟嘟! 联系电话:13336804447 卖家免费入驻,海量在线求购! 卖家免费入驻,海量在线求购!
知嘟嘟
我要发布
联系电话:13336804447
知嘟嘟经纪人
收藏
专利号: 2018115634440
申请人: 中国矿业大学
专利类型:发明专利
专利状态:已下证
专利领域: 测量;测试
更新日期:2024-01-05
缴费截止日期: 暂无
价格&联系人
年费信息
委托购买

摘要:

权利要求书:

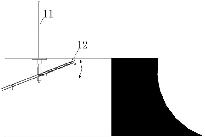
1.一种巷道迎头空顶区顶板变形量监测装置,其特征至于:它包括固定机具和测杆,所述固定机具包括套筒(1)、紧固阀(2)、焊接管(3)和弧形管(4),其中套筒(1)内径与锚杆(11)直径相匹配,套筒(1)上横向设有焊接管(3),并通过紧固阀(2)固定焊接管(3),焊接管(3)两端分别与弧形管(4)两端相连接,弧形管(4)上设有多个贯通测孔(5),测孔(5)直径为弧形管(4)直径一半;

所述测杆包括测杆、凸出杆(8)、凹槽(9)和坡度仪(10),所述测杆包括螺纹杆(6)和中空管(7),螺纹杆(6)和中空管(7)相互独立且螺纹杆(6)可在中空管(7)中旋转,改变测量长度,测量迎头空顶区不同区域,以掘进面为前,坡度仪(10)安装在中空管(7)后端不超过1/2范围内,凸出杆(8)设置在中空管(7)正中间,所述凸出杆(8)上设有凹槽(9),凸出杆(8)与弧形管(4)上的测孔(5)尺寸匹配,能够使凸出杆(8)放入测孔(5)内,凹槽(9)的宽度与弧形管(4)的直径匹配,形成卡扣,防止滑落。

2.根据权利要求1所述的巷道迎头空顶区顶板变形量监测装置,其特征在于:所述的固定机具应在空顶区测点(12)利用过程中一直保持固定在原位,避免前后两次测量因测孔(5)的竖向位置变化而导致测量结果不准确。

3.根据权利要求1所述的巷道迎头空顶区顶板变形量监测装置,其特征在于:所述的测孔(5)可根据实际需要监测的点,在弧形管(4)上添加,使测杆在与该测孔(5)结合时长轴和需要监测的测点(12)在同一平面上,一般设置1~10个。

4.根据权利要求3所述的巷道迎头空顶区顶板变形量监测装置,其特征在于:通过使凸出杆(8)上的凹槽(9)嵌入不同测孔(5)内,改变测杆监测方向,测量迎头空顶区不同区域。

5.一种使用权利要求1所述的巷道迎头空顶区顶板变形量监测装置的监测方法,其特征是包括如下步骤:

a.将固定机具的套筒(1)套入迎头第一排锚杆(11)的外露端,转动紧固阀(2)固定,使焊接管(3)的纵向轴线与巷道长轴线平行;

b.预先标记空顶区测点(12),将测杆的凸出杆(8)放入合适的测孔(5)中,使测杆长轴与测点(12)在同一平面,将凸出杆(8)上的凹槽(9)嵌入测孔(5),调节螺纹杆(6)长度,并下压测杆后端使螺纹杆(6)的前端接触测点(12),记录此时测杆的整体长度L1和坡度仪(10)上的角度θ1作为首次测量标准,测量结束后将测杆取下放置在安全位置;

c.每隔一段时间将测杆再次放入对应测孔(5)中,通过调节螺纹杆(6)长度,使螺纹杆(6)前端接触测点(12),记录每次监测的测杆长度Ln和坡度仪(10)上的对应角度θn,即可利用公式:h=L1cosθ1-Lncosθn,获得测点处对应时间段顶板下沉总量。