欢迎来到知嘟嘟! 联系电话:13336804447 卖家免费入驻,海量在线求购! 卖家免费入驻,海量在线求购!
知嘟嘟
我要发布
联系电话:13336804447
知嘟嘟经纪人
收藏
专利号: 2018111167251
申请人: 上海迈正环境科技有限公司
专利类型:发明专利
专利状态:授权未缴费
专利领域: 一般的物理或化学的方法或装置
更新日期:2024-02-19
缴费截止日期: 暂无
价格&联系人
年费信息
委托购买

摘要:

权利要求书:

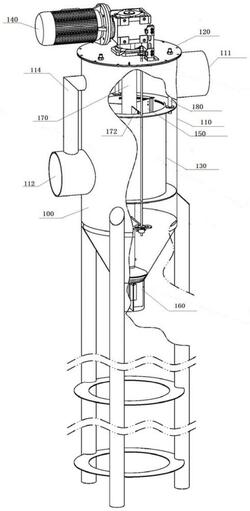
1.一种长条毛刷旋转滤筒式固液分离装置,其特征在于,包括旋转滤筒式固液分离装置本体、圆形筒体和一锥形储料筒,所述圆形筒体的上部开设有一进口管,下部开设有一出口管;在所述圆形筒体盖有一筒盖;所述锥形储料筒的顶部与所述圆形筒体的底部连接,在所述锥形储料筒的底部设置有出渣口;所述旋转滤筒式固液分离装置本体包括一安装在所述圆形筒体内中上部的筛孔圆板筒、安装在所述筒盖上的驱动机构、由所述驱动机构驱动并向下延伸进所述圆形筒体并穿过所述筛孔圆板筒的刷轴、均布固定在所述刷轴中上部上的若干长条毛刷、与所述刷轴底部连接的丝杆、通过丝杆螺母与所述丝杆连接并由所述刷轴带动上下移动的阀杆、安装在所述阀杆底部的圆锥形阀塞;所述长条毛刷的刷面与所述筛孔圆板筒中的环形筛板的内环面接触;在所述环形筛板的上、下两端分别固定有一上法兰盘和下法兰盘,所述上、下法兰盘的外缘与所述圆形筒体的内壁密封接触,所述上、下法兰盘与环形筛板的外环面以及圆形筒体的内壁围成一过滤水腔,所述过滤水腔与所述出水管连通;所述圆锥形阀塞在跟随所述阀杆上下移动过程中用以密封和开启所述出渣口。

2.如权利要求1所述的一种长条毛刷旋转滤筒式固液分离装置,其特征在于,所述的出口管的上方设置有一溢流管,所述溢流管的另一端与所述圆形筒体连接。

3.如权利要求1所述的一种长条毛刷旋转滤筒式固液分离装置,其特征在于,在所述圆形筒体的顶部设置有筒盖法兰盘,所述筒盖通过若干紧固件与所述筒盖法兰盘连接。

4.如权利要求1所述的一种长条毛刷旋转滤筒式固液分离装置,其特征在于,所述上法兰盘通过若干根固定杆悬吊在所述圆形筒体内,其中所述固定杆的上端通过紧固件固定在所述筒盖上,所述固定杆的下端通过紧固件固定在所述上法兰盘上。

5.如权利要求1所述的一种长条毛刷旋转滤筒式固液分离装置,其特征在于,在所述阀杆上固定有跟随阀杆上下移动的连接支架,在所述连杆支架上固定有一向上延伸并以此穿过所述上、下法兰和筒盖的连杆,在所述连杆穿出所述筒盖的一端上安装有一发信盘;另外在所述筒盖上安装有一限位开关支架,在所述限位开关支架上安装有上、下限位开关,所述上、下限位开关接入驱动机构中的电机控制线路中,所述上、下限位开关由所述发信盘上、下移动触碰。

6.如权利要求1所述的一种长条毛刷旋转滤筒式固液分离装置,其特征在于,在所述圆锥形阀塞的底部设置有若干伸入所述出渣口内的定位导向板。

7.如权利要求1所述的一种长条毛刷旋转滤筒式固液分离装置,其特征在于,所述长条毛刷可横向调整,使其与所述筛孔圆板筒内壁贴合。

8.如权利要求1所述的一种长条毛刷旋转滤筒式固液分离装置,其特征在于,所述刷轴的顶端通过销钉与所述驱动机构中的驱动机构的输出轴相连接。

9.如权利要求1所述的一种长条毛刷旋转滤筒式固液分离装置,其特征在于,所述刷轴可在所述驱动机构驱动下下正转及反转。

10.如权利要求1所述的一种长条毛刷旋转滤筒式固液分离装置,其特征在于,所述锥形储料筒的底部安装有若干个支腿,所述支腿的长度可根据使用场地进行调节。

我要求购
我不想找了,帮我找吧
您有专利需要变现?
我要出售
智能匹配需求,快速出售