欢迎来到知嘟嘟! 联系电话:13336804447 卖家免费入驻,海量在线求购! 卖家免费入驻,海量在线求购!
知嘟嘟
我要发布
联系电话:13336804447
知嘟嘟经纪人
收藏
专利号: 2017104839758
申请人: 陈超
专利类型:发明专利
专利状态:已下证
专利领域: 其他类不包含的食品或食料;及其处理
更新日期:2025-11-12
缴费截止日期: 暂无
价格&联系人
年费信息
委托购买

摘要:

权利要求书:

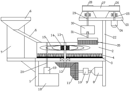
1.一种软片夹持偏心旋转竹条自动刷洗机,其特征在于:包括机架、清洗盆、底板、下清洗软刷、输送管、进料斗、固定架、第一电机、第一输出轴、减速器、第一锥形齿轮、第二锥形齿轮、中心轴、转盘、刮片、出料口、拨片、水箱、抽水泵、供水管、出水口、立柱、安装板、第二电机、第二输出轴、主动轮、皮带、从动轮、连接轴、连接头、连接柄、安装槽、弹簧、插塞座、竹条、端盖、对接孔、橡胶垫,所述机架的上部安装有清洗盆,所述清洗盆为上部开口的柱状盆体,所述清洗盆的底部设有底板,所述底板上连接有下清洗软刷,所述下清洗软刷均匀的阵列分布在底板上,所述清洗盆的上部设有倾斜的输送管,所述输送管下端的管口设置在清洗盆的上部开口范围之内,所述输送管的上端与用于暂存和缓慢向输送管供送的进料斗相连接,所述进料斗为上部开口大下部开口小的锥形腔体,所述进料斗安装在固定架上,所述固定架的下部连接在机架上,所述机架上安装有第一电机,所述第一电机的输出端与第一输出轴的一端相连,所述第一输出轴上安装有减速器,所述第一输出轴的另一端上连接有第一锥形齿轮,所述第一锥形齿轮的齿面与第二锥形齿轮的齿面相连接,所述第二锥形齿轮安装在中心轴的下端,所述中心轴竖直穿过底板延伸到清洗盆内部,所述中心轴的上端安装有转盘,所述转盘的沿中心轴的轴向连接有若干刮片,所述清洗盆的侧壁开有出料口,所述出料口上安装有拨片,所述机架上固定有水箱,所述水箱上安装有抽水泵,所述抽水泵与供水管的一端相连,所述供水管的另一端安装有出水口,所述出水口固定在清洗盆的侧壁上,所述机架的右侧安装有立柱,所述立柱上部固定有横向的安装板,所述安装板上安装有第二电机,所述第二电机的输出端与第二输出轴的一端相连,所述第二输出轴的另一端安装有主动轮,所述主动轮通过皮带连接有从动轮,所述从动轮安装在连接轴的一端,所述连接轴的另一端安装有连接头,所述连接头的下部开设有内螺纹孔,所述内螺纹孔内连接有上端设有对应外螺纹的连接柄,所述连接柄的下部设有向下开口的安装槽,所述安装槽内部的上壁连接有弹簧的一端,所述弹簧的另一端连接有插塞座,所述插塞座上连接有若干竹条,所述连接柄的下部安装有端盖,所述端盖的下部开设有阵列排布的对接孔,所述竹条连接在对接孔内,所述竹条的下部伸入到清洗盆内部,所述端盖和连接柄之间设置有橡胶垫。

2.根据权利要求1所述的一种软片夹持偏心旋转竹条自动刷洗机,其特征在于:所述中心轴设置在距离清洗盆中心100mm到300mm的偏左侧位置。

3.根据权利要求1所述的一种软片夹持偏心旋转竹条自动刷洗机,其特征在于:所述输送管的倾斜角度为30-50°。

4.根据权利要求1所述的一种软片夹持偏心旋转竹条自动刷洗机,其特征在于:所述第一锥形齿轮和第二锥形齿轮为直齿锥齿轮。

5.根据权利要求1所述的一种软片夹持偏心旋转竹条自动刷洗机,其特征在于:所述连接柄的两侧安装有连接架,所述连接架上固定有冲水管,所述冲水管的方向与连接柄的竖直方向成30-60°夹角。

6.根据权利要求1所述的一种软片夹持偏心旋转竹条自动刷洗机,其特征在于:所述供水管有多根,所述供水管端部的出水口朝向清洗盆的内部,所述出水口的出水方向与清洗盆的边沿成30-45°。

7.根据权利要求1所述的一种软片夹持偏心旋转竹条自动刷洗机,其特征在于:所述下清洗软刷由细纤维束制成,所述下清洗软刷伸出底板的长度为30-120mm。

8.根据权利要求1所述的一种软片夹持偏心旋转竹条自动刷洗机,其特征在于:所述刮片由软性塑料制成,所述刮片制成椭圆状,所述刮片的数量为8-16片,所述刮片的长度为

200-500mm。