欢迎来到知嘟嘟! 联系电话:13336804447 卖家免费入驻,海量在线求购! 卖家免费入驻,海量在线求购!
知嘟嘟
我要发布
联系电话:13336804447
知嘟嘟经纪人
收藏
专利号: 2020104533373
申请人: 烟台大学
专利类型:发明专利
专利状态:已下证
专利领域: 一般的物理或化学的方法或装置
更新日期:2025-04-03
缴费截止日期: 暂无
价格&联系人
年费信息
委托购买

摘要:

权利要求书:

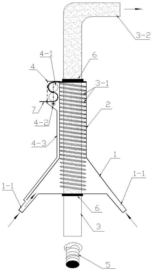
1.一种压旋毛发微滤井装置,其特征在于,包括进水仓(1)、微滤井(2)和压旋管(3);

所述的进水仓(1)顶端连通微滤井(2);所述的进水仓(1)开设进水口,所述的进水口连接进水管(1-1);

所述的压旋管(3)贯穿于进水仓(1)与微滤井(2)的内部,并包括穿出进水仓(1)与穿出微滤井(2)的部分;

所述的压旋管(3)底部封闭,顶部设置出水口(3-2);所述的压旋管(3)位于进水仓(1)与微滤井(2)内部的部分的外壁上设置外螺纹(3-1)并开设筛孔。

2.根据权利要求1所述的压旋毛发微滤井装置,其特征在于,所述的压旋管(3)底部连接驱动轴(5),外接动力可驱动压旋管(3)旋转。

3.根据权利要求1或2所述的压旋毛发微滤井装置,其特征在于,所述的微滤井(2)的顶部连接毛辫子干化仓(4);所述的毛辫子干化仓(4)与微滤井(2)连通;所述的毛辫子干化仓(4)内置挤压辊(4-1)。

4.根据权利要求3所述的压旋毛发微滤井装置,其特征在于,所述的毛辫子干化仓(4)的下部连通进水仓(1);所述的毛辫子干化仓(4)的仓壁上开设空气流通孔。

5.根据权利要求3所述的压旋毛发微滤井装置,其特征在于,所述的毛辫子干化仓(4)设置可将毛发导引出仓的导引轴(4-2)。

6.根据权利要求1或2所述的压旋毛发微滤井装置,其特征在于,所述的进水仓(1)为底面在下的圆截锥体。

7.根据权利要求6所述的压旋毛发微滤井装置,其特征在于,所述的进水管(1-1)沿进水仓(1)的切线方向设置。

8.根据权利要求1或7所述的压旋毛发微滤井装置,其特征在于,所述的进水口为多个。

9.根据权利要求1或2所述的压旋毛发微滤井装置,其特征在于,所述的压旋管(3)穿出进水仓(1)的部分与穿出微滤井(2)的部分均设置滚动轴承。