欢迎来到知嘟嘟! 联系电话:13336804447 卖家免费入驻,海量在线求购! 卖家免费入驻,海量在线求购!
知嘟嘟
我要发布
联系电话:13336804447
知嘟嘟经纪人
收藏
专利号: 2018110235980
申请人: 曲阜师范大学
专利类型:发明专利
专利状态:已下证
专利领域: 液力机械或液力发动机;风力、弹力或重力发动机;其他类目中不包括的产生机械动力或反推力的发动机
更新日期:2025-07-02
缴费截止日期: 暂无
价格&联系人
年费信息
委托购买

摘要:

权利要求书:

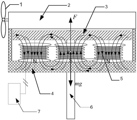
1.一种风力磁悬浮机舱悬浮控制方法,其特征在于:将机舱悬浮按照控制任务和干扰,分割为悬浮机械动态和变流器电流跟踪两部分,所述悬浮机械动态完成悬浮气隙控制,采用悬浮稳态控制器和干扰补偿器,协同完成悬浮电流参考设定;所述变流器电流跟踪完成悬浮电流参考跟踪,采用电流跟踪稳态控制器和自适应反电动势补偿器,应对气隙波动所致反电动势变化以及变流器参数变化等对悬浮电流跟踪影响。

2.根据权利要求1所述一种风力磁悬浮机舱悬浮控制方法,其特征是所述悬浮机械动态部分的设计步骤如下:步骤1,构建风力机舱悬浮机械动态模型为其中:m为机舱悬浮重量,δ为悬浮气隙,g为重力加速度,fd0为机舱下压力,μ0为真空导磁率,A为机舱悬浮绕组总面积,N机舱悬浮绕组匝数;

步骤2,令 由式(1)求出机舱悬浮平衡点处电流 其中δ0为机舱额定悬浮气隙;采用泰勒级数展开法,在平衡点(δ0,i0)处将式(1)线性化为其中: fd为系统综合干扰,包括泰勒级数展开法省略的高阶项以及机舱下压力,采用干扰补偿器代替;

步骤3,分别以Δδ和 为状态变量x1,x2,引入 构建以u为控制输入的机舱悬浮状态空间方程为:步骤4,采用状态反馈给出悬浮稳态控制器为u=k1x1+k2x2/(Tfs+1)。                   (4)其中:k1和k2为状态反馈控制系数;Tf为滤波系数,降低微分计算放大的干扰噪声;

由式(4)可得电流Δi为

步骤5,引入虚拟变量 则机舱悬浮干扰补偿器设计为其中:ch和cfd为正控制器参数,以确保干扰补偿的快速收敛;

由式(5)和(6)可得悬浮电流参考为

3.根据权利要求1所述一种风力磁悬浮机舱悬浮控制方法,其特征是所述变流器电流跟踪部分设计步骤如下:步骤1,构建含机舱悬浮绕组的变流器平均电压模型为:其中:Udc悬浮变流器输入直流母线,u1为变流器控制占空比;

步骤2,引入虚拟变量 并代入式(8)得,设置悬浮电流稳态控制器为

Gi(s)=(c1s+c0)/s                 (10)其中,c1为比例增益,c0为积分系数;

将式(10)代入式(9)得变流器悬浮电流闭环传递函数为步骤3,根据电流跟踪速度以及稳态误差性能要求,确定自然角频率ψn和阻尼比ξ,由期望特征方程 并结合式(11)可得c1=2ξωnL0-Rs, 机舱悬浮变流器的占空比为

其中:e=iref-i。

步骤4,设计自适应反电动势干扰补偿系数为其中:γ为正实数,确保自适应律的快速收敛;

由式(12)和式(13)可得变流器电流跟踪控制器为