欢迎来到知嘟嘟! 联系电话:13336804447 卖家免费入驻,海量在线求购! 卖家免费入驻,海量在线求购!
知嘟嘟
我要发布
联系电话:13336804447
知嘟嘟经纪人
收藏
专利号: 2024219057636
专利类型:实用新型
专利状态:未下证
专利领域: 暂无
更新日期:2025-06-11
缴费截止日期: 暂无
价格&联系人
年费信息
委托购买

摘要:

权利要求书:

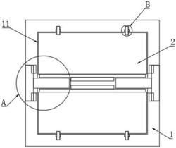
1.一种道路货物运输用小配件集中运输箱,包括集中箱体(1)与分隔机构,其特征在于:分隔机构包括收纳腔(11),所述收纳腔(11)开设于集中箱体(1)内部,所述集中箱体(1)外侧与收纳腔(11)内侧分别开设有呈连通设置的连接凹槽(12)与穿透连接槽(14),所述连接凹槽(12)内侧设有第一磁块(13),所述连接凹槽(12)内侧活动连接有连接插板(21),所述连接插板(21)靠近连接凹槽(12)的一侧设有第二磁块(22)并与第一磁块(13)为磁吸连接,所述连接插板(21)一侧设有隔板(23),所述隔板(23)一端贯穿穿透连接槽(14)并延伸至收纳腔(11)内侧,所述连接插板(21)与隔板(23)均以集中箱体(1)一侧中心点为轴呈镜像设置,所述收纳腔(11)内侧设有配件收纳箱(2)。

2.根据权利要求1所述的一种道路货物运输用小配件集中运输箱,其特征在于:所述配件收纳箱(2)靠近隔板(23)的一端活动连接有连接垫板(24),所述连接垫板(24)靠近配件收纳箱(2)的一端端面设有限位背板(26),所述限位背板(26)活动连接于配件收纳箱(2)背面。

3.根据权利要求2所述的一种道路货物运输用小配件集中运输箱,其特征在于:所述隔板(23)顶端与底端表面均设有缓冲垫,所述连接垫板(24)与缓冲垫活动连接。

4.根据权利要求2所述的一种道路货物运输用小配件集中运输箱,其特征在于:所述配件收纳箱(2)外侧活动连接有封口板(3),所述封口板(3)靠近配件收纳箱(2)的一侧开设有复位凹槽(31),所述配件收纳箱(2)靠近封口板(3)的一侧设有辅助抽拉板(25),所述辅助抽拉板(25)活动连接于复位凹槽(31)内侧。

5.根据权利要求4所述的一种道路货物运输用小配件集中运输箱,其特征在于:所述辅助抽拉板(25)外侧开设有防滑纹,且所述复位凹槽(31)的长度、宽度与收纳腔(11)的长度、宽度相同。

6.根据权利要求2所述的一种道路货物运输用小配件集中运输箱,其特征在于:还包括辅助机构,所述辅助机构包括连接滚槽(20),所述连接滚槽(20)开设于配件收纳箱(2)远离连接垫板(24)的一端端面,所述收纳腔(11)内侧开设有活动槽(15),所述活动槽(15)内侧转动连接有滚轮(16),所述滚轮(16)一端活动连接于连接滚槽(20)内侧,且所述滚轮(16)与活动槽(15)的连接处设有转轴(17)。