欢迎来到知嘟嘟! 联系电话:13336804447 卖家免费入驻,海量在线求购! 卖家免费入驻,海量在线求购!
知嘟嘟
我要发布
联系电话:13336804447
知嘟嘟经纪人
收藏
专利号: 2023224649174
申请人: 上海捷邱物流有限公司
专利类型:实用新型
专利状态:已下证
专利领域: 输送;包装;贮存;搬运薄的或细丝状材料
更新日期:2024-12-05
缴费截止日期: 暂无
价格&联系人
年费信息
委托购买

摘要:

权利要求书:

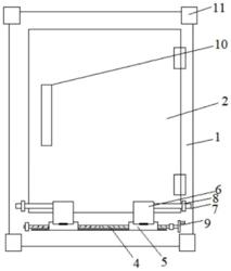
1.一种道路货物运输物流箱,包括运输物流箱主体,其特征在于:所述运输物流箱主体的侧面设有开合门,所述开合门通过合页与运输物流箱主体铰接连接,所述运输物流箱主体位于开合门一侧靠近底端处安装有挡板机构,所述挡板机构包括双向螺杆、螺纹套、挡板和插杆,所述双向螺杆转动安装在所述运输物流箱主体上,所述双向螺杆上套接安装有两个对称分布的螺纹套,所述螺纹套和双向螺杆螺纹连接,所述螺纹套的顶端处安装有挡板,所述挡板和螺纹套转动连接,所述螺纹套和运输物流箱主体滑动连接,所述运输物流箱主体的侧面靠近底端处固定安装有两个关于所述开合门对称分布的插座,所述挡板面向插座的一侧固定连接有插杆。

2.根据权利要求1所述的一种道路货物运输物流箱,其特征在于:所述双向螺杆的一端固定连接有手轮。

3.根据权利要求1所述的一种道路货物运输物流箱,其特征在于:所述开合门的前侧固定连接有把手。

4.根据权利要求1所述的一种道路货物运输物流箱,其特征在于:所述运输物流箱主体的各个边角处均粘合固定有柔性材质的包角套。

5.根据权利要求1所述的一种道路货物运输物流箱,其特征在于:所述运输物流箱主体的相对两侧均设有所述开合门和挡板机构。

6.根据权利要求1所述的一种道路货物运输物流箱,其特征在于:所述插杆和插座适配插接。

7.根据权利要求1所述的一种道路货物运输物流箱,其特征在于:所述挡板和螺纹套阻尼转动连接。