欢迎来到知嘟嘟! 联系电话:13336804447 卖家免费入驻,海量在线求购! 卖家免费入驻,海量在线求购!
知嘟嘟
我要发布
联系电话:13336804447
知嘟嘟经纪人
收藏
专利号: 201910844694X
申请人: 徐州鑫路达配送服务有限公司
专利类型:发明专利
专利状态:已下证
专利领域: 输送;包装;贮存;搬运薄的或细丝状材料
更新日期:2024-02-23
缴费截止日期: 暂无
价格&联系人
年费信息
委托购买

摘要:

权利要求书:

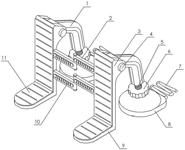
1.一种物流运输货箱防滑锁定器,由两个能够相对偏转的支撑部件组成,其特征在于两个支撑部件之间通过两组连杆铰接,所述支撑部件由支撑弯杆、支撑板、连接轴、螺杆、旋帽、折弯片、底座、插入板、垫片、耐磨垫和球形节组成,支撑弯杆一端通过连接轴铰接置于支撑板一端,插入板置于支撑板的另一端,支撑弯杆的两一端设置有螺杆,底座通过旋帽螺接置于螺杆上,所述底座和旋帽之间通过环形槽卡接,且底座和旋帽之间可相对转动,折弯片置于底座一侧。

2.根据权利要求1所述的一种物流运输货箱防滑锁定器,其特征在于两个所述支撑部件之间的连接通过辅助杆连接,辅助杆的两端分别和连杆对应铰接。

3.根据权利要求1所述的一种物流运输货箱防滑锁定器,其特征在于两个所述支撑部件中仅有一个设置有支撑杆,并在连杆铰接轴处增设可折叠收纳的支持臂,所述支持臂由一个用于收纳的套杆和一个铰接于套杆端部用于支撑的支脚组成,所述套杆通过铰接轴固定。

4.根据权利要求1所述的一种物流运输货箱防滑锁定器,其特征在于插入板通过锁紧组件铰接置于支撑板上,所述锁紧组件能够对插入板的偏角进行调节并固定。

5.根据权利要求1所述的一种物流运输货箱防滑锁定器,其特征在于所述支撑弯杆和插入板分别位于支撑板两侧,支撑弯杆弯角为120°‑150°。

6.根据权利要求1所述的一种物流运输货箱防滑锁定器,其特征在于所述插入板和支撑板之间夹角为95°‑100°,能够在支撑部件上分解形成侧向的压力,将自重转换成两侧的支持力,提高稳定性。

7.根据权利要求1所述的一种物流运输货箱防滑锁定器,其特征在于所述支撑板和插入板采用铝合金一体成型,所述支撑板和插入板连接背面设置有加强肋条。

8.根据权利要求1所述的一种物流运输货箱防滑锁定器,其特征在于所述旋帽采用塑料注塑成型,中部螺纹为铜嵌件嵌置于外层塑料内。

9.根据权利要求1或6所述的一种物流运输货箱防滑锁定器,其特征在于所述插入板底部开有防滑纹,所述防滑纹为锯齿状,所述插入板插入端厚度小于根部厚度。

10.根据权利要求1所述的一种物流运输货箱防滑锁定器,其特征在于支撑板和插入板表面嵌置有耐磨垫,所述耐磨垫为陶瓷板,且表面开有沟槽。