欢迎来到知嘟嘟! 联系电话:13336804447 卖家免费入驻,海量在线求购! 卖家免费入驻,海量在线求购!
知嘟嘟
我要发布
联系电话:13336804447
知嘟嘟经纪人
收藏
专利号: 2024212567159
专利类型:实用新型
专利状态:未下证
专利领域: 暂无
更新日期:2025-01-06
缴费截止日期: 暂无
价格&联系人
年费信息
委托购买

摘要:

权利要求书:

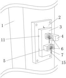
1.一种起重机检测偏摆测量装置,包括起重机柱体(1),其特征在于:所述起重机柱体(1)的侧表面固定连接有安装板(2),所述安装板(2)的侧表面卡合连接有支撑板(3),所述支撑板(3)的侧表面固定连接有第一安装块(4),所述支撑板(3)的侧表面位于所述第一安装块(4)的下方固定连接有第二安装块(5),所述第一安装块(4)与所述第二安装块(5)的侧表面均固定连接有测偏角度盘(6),两个所述测偏角度盘(6)的侧表面均转动连接有指针(7)。

2.根据权利要求1所述的一种起重机检测偏摆测量装置,其特征在于:所述安装板(2)的侧表面开设有两个定位槽(8),所述支撑板(3)的靠近所述安装板(2)的侧表面固定连接有两个定位块(9),且两个所述定位块(9)分别与两个所述定位槽(8)的内壁相对滑动。

3.根据权利要求1所述的一种起重机检测偏摆测量装置,其特征在于:所述支撑板(3)的侧表面开设有两个卡槽(10),所述安装板(2)的侧表面一体成型有两个卡条(11),且两个所述卡条(11)能够分别卡合于两个所述卡槽(10)的内壁。

4.根据权利要求2所述的一种起重机检测偏摆测量装置,其特征在于:两个所述定位块(9)的侧表面均开设有凹槽(12),两个所述定位槽(8)的内侧壁均开设有限位槽(13),两个所述限位槽(13)的内壁均通过弹簧弹性滑动连接有限位块(14),且两个所述限位块(14)分别能够卡合于两个所述凹槽(12)的内壁。

5.根据权利要求1所述的一种起重机检测偏摆测量装置,其特征在于:两个所述指针(7)的下表面均固定连接有小重块(15)。