欢迎来到知嘟嘟! 联系电话:13336804447 卖家免费入驻,海量在线求购! 卖家免费入驻,海量在线求购!
知嘟嘟
我要发布
联系电话:13336804447
知嘟嘟经纪人
收藏
专利号: 2018106020810
申请人: 北京建筑大学
专利类型:发明专利
专利状态:已下证
专利领域: 卷扬;提升;牵引
更新日期:2026-01-23
缴费截止日期: 暂无
价格&联系人
年费信息
委托购买

摘要:

权利要求书:

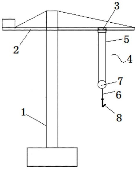
1.一种偏摆校准塔式起重机,其特征在于,包括:

支架,所述支架上设置有塔臂,所述塔臂上滑动连接有移动小车;

吊挂机构,包括第一绳段、第二绳段、动滑轮装置以及吊钩;所述动滑轮装置通过所述第一绳段与所述移动小车连接,所述第一绳段带动所述动滑轮装置进行升降运动;所述吊钩通过所述第二绳段与所述动滑轮装置连接;

测控单元,用于测量所述塔臂的转动方位角和所述移动小车的滑动距离,以及用于控制所述塔臂进行转动和所述移动小车进行滑动;

偏摆测量装置,设置在所述动滑轮装置底部,用于测量所述吊钩的偏摆数据;

处理单元,与所述测控单元和所述偏摆测量装置通信连接,用于根据所述偏摆数据、所述塔臂当前的所述转动方位角以及所述移动小车当前的所述移动距离,控制所述塔臂转动以及所述移动小车滑动,以抵消所述吊钩的摇摆。

2.如权利要求1所述的起重机,其特征在于,还包括控制单元,用于控制所述第一绳段带动所述动滑轮装置及所述吊钩的升降高度。

3.如权利要求1所述的起重机,其特征在于,在所述第一绳段和所述第二绳段均处于垂直状态下时,所述偏摆测量装置的中心与所述动滑轮装置的中心位于同一直线上。

4.如权利要求1所述的起重机,其特征在于,所述偏摆测量装置包括铟瓦圆条码数字水平度盘和激光信号发射器。

5.一种偏摆校准塔式起重机吊钩的偏摆校准方法,其特征在于,应用于上述权利要求

1-4任一项所述的起重机,所述方法包括:

通过所述测控单元记录所述塔臂当前的所述转动方位角和所述移动小车当前的所述滑动距离;

偏摆测量装置测量所述吊钩的所述偏摆数据;

根据所述偏摆数据、所述塔臂当前的所述转动方位角和所述移动小车当前的所述滑动距离,所述处理单元计算出所述塔臂的待转动角度和所述移动小车的待滑动距离;

根据计算出的所述待转动角度和所述待滑动距离,所述测控单元控制所述塔臂进行相应的转动及控制所述移动小车进行相应的滑动,以抵消所述吊钩的摇摆。

6.如权利要求5所述的偏摆校准方法,其特征在于,所述偏摆测量装置测量所述偏摆数据,包括测量所述吊钩的竖直偏摆角,包括步骤:获取所述吊钩相对所述偏摆测量装置的水平偏摆角和水平偏摆距离;

所述水平偏摆角的计算公式为:

α=A;

所述水平偏摆距离的计算公式为:

其中,α为所述吊钩相对所述偏摆测量装置的所述水平偏摆角,R为所述吊钩相对所述偏摆测量装置的所述水平偏摆距离,Α为所述偏摆测量装置测量的水平偏摆角,r为所述偏摆测量装置测量的水平偏摆距离,l为所述偏摆测量装置的激光信号发射器相对所述偏摆测量装置在第二绳段上的长度,L2为所述第二绳段的长度;

所述竖直偏摆角的计算公式为:

其中,R为所述水平偏摆距离,L2为所述第二绳段的长度,β为所述竖直偏摆角。

7.如权利要求6所述的偏摆校准方法,其特征在于,所述待转动角度的计算公式为:

当Δθ>0,所述塔臂逆时针旋转,当Δθ<0,所述塔臂顺时针旋转;

所述待滑动距离的计算公式为:

当Δρ>0,所述移动小车向靠近所述支架的方向移动,当Δρ<0,所述移动小车向远离所述支架的方向移动;

其中,Δθ为所述塔臂的所述待转动角度,Δρ为所述移动小车的所述待滑动距离,θ为所述塔臂当前的所述转动方位角,ρ为所述移动小车当前的所述移动距离,L1为所述第一绳段的瞬时长度,L2为所述第二绳段的长度,β为所述竖直偏摆角,α为所述水平偏摆角。

8.如权利要求7所述的偏摆校准方法,其特征在于,还包括通过调整所述第一绳段待放长度带动所述动滑轮装置移动,以抵消所述吊钩的摆动;

所述第一绳段的待放长度的计算公式为:

其中,Δh为所述第一绳段的待放长度,L1为所述第一绳段的瞬时长度,L2为所述第二绳段的长度,β为所述竖直偏摆角。