欢迎来到知嘟嘟! 联系电话:13336804447 卖家免费入驻,海量在线求购! 卖家免费入驻,海量在线求购!
知嘟嘟
我要发布
联系电话:13336804447
知嘟嘟经纪人
收藏
专利号: 2022232280256
申请人: 河北登现风机制造有限公司
专利类型:实用新型
专利状态:已下证
专利领域: 测量;测试
更新日期:2025-04-10
缴费截止日期: 暂无
价格&联系人
年费信息
委托购买

摘要:

权利要求书:

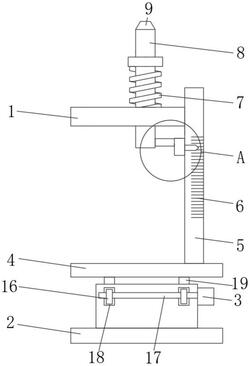
1.一种风机用偏摆检测机构,包括第二底板(4),其特征在于:所述第二底板(4)的顶部一侧固定安装有竖板(5),所述竖板(5)的一侧固定安装有安装板(1),所述安装板(1)的顶部设置有第一连接杆(8),所述第一连接杆(8)竖向贯穿安装板(1)且与安装板(1)滑动连接,所述第一连接杆(8)的外侧固定安装有固定板,固定板的底部且位于第一连接杆(8)的外侧固定安装有弹簧(7),所述弹簧(7)的一端与安装板(1)固定连接,所述第一连接杆(8)的一侧且位于安装板(1)的下方固定安装有第二连接杆(14),所述第二连接杆(14)的一端固定安装有安装块(10),所述安装块(10)的一侧固定安装有指针(13),所述指针(13)的后侧通过螺栓螺纹安装有安装套,安装套的内部固定安装有粉笔(15),所述粉笔(15)的一端与竖板(5)抵接,所述竖板(5)上且与指针(13)对应的位置设置有刻度(6)。

2.根据权利要求1所述的一种风机用偏摆检测机构,其特征在于:所述竖板(5)上开设有滑槽(11),所述滑槽(11)的内部滑动连接有滑块(12),所述滑块(12)的一侧与安装块(10)固定连接。

3.根据权利要求1所述的一种风机用偏摆检测机构,其特征在于:所述第二底板(4)的下方设置有第一底板(2),所述第一底板(2)的顶部固定安装有安装槽架,安装槽架的顶部对称开设有安装槽,安装槽的内部滑动连接有齿板(19),安装槽架的前侧且与齿板(19)对应的位置开设有开槽(18),安装槽架的一侧固定安装有电机(3),所述电机(3)的输出轴固定安装有转动轴(17),所述转动轴(17)的外侧且与开槽(18)对应的位置固定安装有齿轮(16),所述齿轮(16)与齿板(19)啮合,所述齿板(19)的顶部与第二底板(4)固定连接。

4.根据权利要求1所述的一种风机用偏摆检测机构,其特征在于:所述第一连接杆(8)的顶端固定安装有锥形头(9)。

5.根据权利要求1所述的一种风机用偏摆检测机构,其特征在于:所述竖板(5)为木制板材。