欢迎来到知嘟嘟! 联系电话:13336804447 卖家免费入驻,海量在线求购! 卖家免费入驻,海量在线求购!
知嘟嘟
我要发布
联系电话:13336804447
知嘟嘟经纪人
收藏
专利号: 2024205580290
专利类型:实用新型
专利状态:未下证
专利领域: 暂无
更新日期:2024-12-04
缴费截止日期: 暂无
价格&联系人
年费信息
委托购买

摘要:

权利要求书:

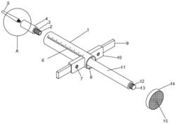
1.一种医用一次性注射器,包括管体(1),其特征在于:所述管体(1)一侧壁螺纹连接有第一连接柱(2),所述第一连接柱(2)外壁固定设置有第一外螺纹(3),所述第一连接柱(2)远离管体(1)的一侧固定连接有固定柱(4),所述固定柱(4)远离第一连接柱(2)的一侧螺纹连接有连接杆(21),所述连接杆(21)远离第一固定柱(4)的一侧固定连接有针头(5)。

2.根据权利要求1所述的一种医用一次性注射器,其特征在于:所述管体(1)远离第一连接柱(2)的一侧两端均固定连接有第二连接板(10),两个所述第二连接板(10)一侧均滑动连接有第一连接板(9),两个所述第二连接板(10)一侧均固定设置有照明灯(7),所述管体(1)外壁设置有刻度尺(6)。

3.根据权利要求1所述的一种医用一次性注射器,其特征在于:所述管体(1)远离第一连接柱(2)的一侧开设有凹槽(8)。

4.根据权利要求1所述的一种医用一次性注射器,其特征在于:所述管体(1)内部滑动设置有第一密封块(18),所述第一密封块(18)一侧壁固定连接有活塞(20),所述活塞(20)两侧均固定连接有第二密封块(19),所述活塞(20)远离第一密封块(18)的一侧固定连接有推杆(11)。

5.根据权利要求4所述的一种医用一次性注射器,其特征在于:所述推杆(11)远离活塞(20)的一侧螺纹连接有推盘(14),所述推盘(14)一侧壁铺设有防滑层(15)。

6.根据权利要求4所述的一种医用一次性注射器,其特征在于:所述推杆(11)远离活塞(20)的一侧固定连接有第二连接柱(13),所述第二连接柱(13)外壁设置有第二外螺纹(12)。

7.根据权利要求5所述的一种医用一次性注射器,其特征在于:所述推盘(14)远离防滑层(15)的一侧设置有内螺纹(16)。

8.根据权利要求1所述的一种医用一次性注射器,其特征在于:所述连接杆(21)远离针头(5)的一侧开设有通口(17)。

我要求购
我不想找了,帮我找吧
您有专利需要变现?
我要出售
智能匹配需求,快速出售