欢迎来到知嘟嘟! 联系电话:13336804447 卖家免费入驻,海量在线求购! 卖家免费入驻,海量在线求购!
知嘟嘟
我要发布
联系电话:13336804447
知嘟嘟经纪人
收藏
专利号: 2022100742364
申请人: 南京中隐客归网络科技有限公司
专利类型:发明专利
专利状态:已下证
专利领域: 输送;包装;贮存;搬运薄的或细丝状材料
更新日期:2024-02-23
缴费截止日期: 暂无
价格&联系人
年费信息
委托购买

摘要:

权利要求书:

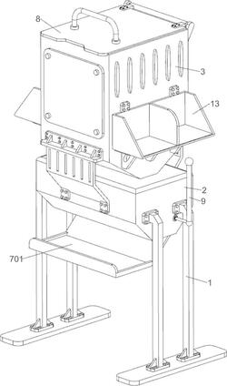
1.一种一次性注射器发放设备,其特征是:包括有:支架(1),框体(2)两侧均连接有支架(1);储料箱(3),框体(2)上部连接有储料箱(3),储料箱(3)内部两侧之间间隔均匀连接有四块隔料板;固定座(4),框体(2)内下部一侧对称连接有固定座(4);转杆(5),固定座(4)一侧之间转动式连接有转杆(5);传料架(6),转杆(5)两侧均连接有传料架(6);挡板(7),储料箱(3)下部两侧之间连接有挡板(7),挡板(7)位于框体(2)内侧和传料架(6)外侧;落料板(701),框体(2)下部一侧连接有落料板(701);开闭机构(8),储料箱(3)上部设有开闭机构(8);拨动机构(9),转杆(5)一侧与框体(2)一侧之间设有拨动机构(9)。

2.按照权利要求1所述的一种一次性注射器发放设备,其特征是:开闭机构(8)包括有:固定块(81),框体(2)上部一侧对称连接有固定块(81);固定杆(82),固定块(81)上部之间连接有固定杆(82);盖板(83),固定杆(82)外侧转动式连接有盖板(83);把手(84),盖板(83)上部一侧连接有把手(84)。

3.按照权利要求2所述的一种一次性注射器发放设备,其特征是:拨动机构(9)包括有:转轴(91),框体(2)下部一侧转动式连接有转轴(91);拨杆(92),转轴(91)一侧连接有拨杆(92);缺齿轮(93),转轴(91)一侧连接有缺齿轮(93);单向齿轮(94),转杆(5)一侧连接有单向齿轮(94),单向齿轮(94)与缺齿轮(93)相互配合。

4.按照权利要求3所述的一种一次性注射器发放设备,其特征是:还包括有卡料组件(10),卡料组件(10)包括有:绕线轮(101),转轴(91)一侧连接有绕线轮(101);导向轮(102),框体(2)内上部一侧转动式连接有导向轮(102);滑套(103),储料箱(3)下部一侧对称连接有滑套(103);U形杆(104),滑套(103)内侧之间滑动式连接有U形杆(104);压缩弹簧(109),U形杆(104)与滑套(103)之间均连接有压缩弹簧(109),压缩弹簧(109)套在U形杆(104)上;接触轮(105),U形杆(104)下部一侧转动式连接有接触轮(105);安装块(106),储料箱(3)下部两侧均对称连接有安装块(106);卡杆(107),安装块(106)上部均滑动式连接有卡杆(107);拉伸弹簧(1011),卡杆(107)与安装块(106)之间均连接有拉伸弹簧(1011),拉伸弹簧(1011)套在卡杆(107)上;异形板(108),两侧卡杆(107)外侧之间均连接有异形板(108),异形板(108)与接触轮(105)相互配合;拉绳(1010),绕线轮(101)与U形杆(104)之间连接有拉绳(1010),拉绳(1010)绕过导向轮(102)。

5.按照权利要求4所述的一种一次性注射器发放设备,其特征是:还包括有对齐组件(11),对齐组件(11)包括有:滑动套(111),储料箱(3)下部一侧对称连接有滑动套(111);L形杆(112),滑动套(111)内侧均滑动式连接有L形杆(112),L形杆(112)内侧均与一侧异形板(108)相连接;滚轮(113),L形杆(112)一侧均转动式连接有滚轮(113);滑杆(114),储料箱(3)下部两侧均上下对称滑动式连接有滑杆(114);第一弹簧(116),滑杆(114)与储料箱(3)之间均连接有第一弹簧(116),第一弹簧(116)套在滑杆(114)上;对齐板(115),两侧滑杆(114)内侧之间均对齐板(115);楔形板(117),两侧滑杆(114)外侧之间均连接有楔形板(117),楔形板(117)与滚轮(113)相互配合。

6.按照权利要求5所述的一种一次性注射器发放设备,其特征是:还包括有定位组件(12),定位组件(12)包括有:固定盘(121),转杆(5)一侧连接有固定盘(121);固定筒(122),固定盘(121)一侧间隔均匀连接有多个固定筒(122);定位轴(123),固定筒(122)内侧均滑动式连接有定位轴(123);第二弹簧(124),定位轴(123)与固定筒(122)之间均连接有第二弹簧(124);定位盘(125),框体(2)内一侧连接有定位盘(125),定位盘(125)一侧间隔均匀开有多个槽孔,定位盘(125)与定位轴(123)相互配合。

7.按照权利要求6所述的一种一次性注射器发放设备,其特征是:还包括有放置组件(13),放置组件(13)设置在储料箱(3)下部一侧。

8.按照权利要求7所述的一种一次性注射器发放设备,其特征是:放置组件(13)包括有:支撑架(131),储料箱(3)下部一侧连接有支撑架(131);放置架(132),支撑架(131)上部连接有放置架(132);隔板(133),放置架(132)与储料箱(3)相连接,放置架(132)内部中间连接有隔板(133)。

我要求购
我不想找了,帮我找吧
您有专利需要变现?
我要出售
智能匹配需求,快速出售