欢迎来到知嘟嘟! 联系电话:13336804447 卖家免费入驻,海量在线求购! 卖家免费入驻,海量在线求购!
知嘟嘟
我要发布
联系电话:13336804447
知嘟嘟经纪人
收藏
专利号: 2014103489876
申请人: 李洪湘
专利类型:发明专利
专利状态:已下证
专利领域: 医学或兽医学;卫生学
更新日期:2024-02-23
缴费截止日期: 暂无
价格&联系人
年费信息
委托购买

摘要:

权利要求书:

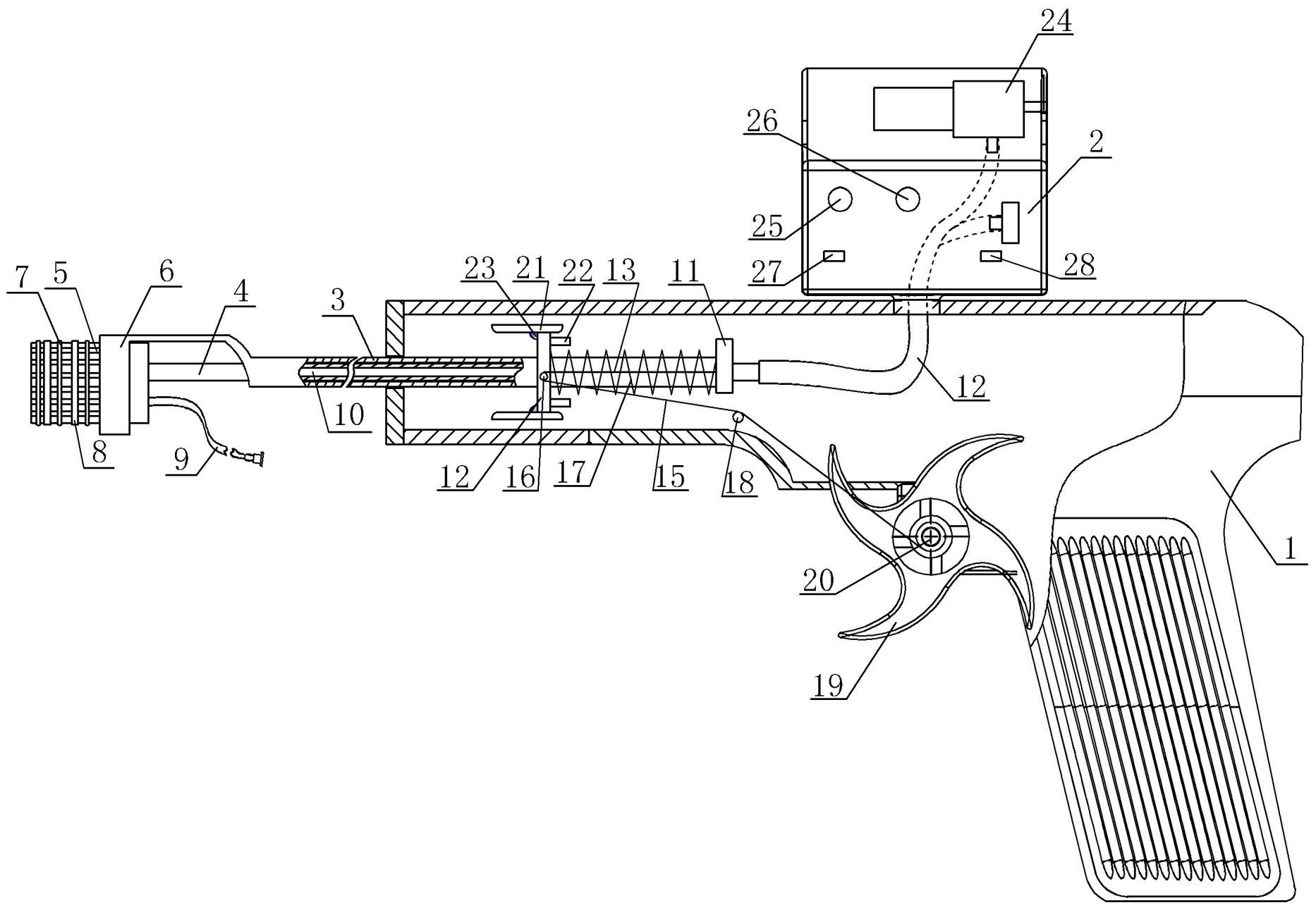
1.一种一次性注射套扎治疗器,包括枪形体(1)、吸盘(5)、吸气管(4)、推套(6)、推管(3)、扳机(19)和胶圈(7),吸气管固定于枪形体上,吸盘固定于吸气管的前端,推管位于吸气管的外围,推套位于吸盘的外围,推套固定于推管的前端,推管的后端固定有牵引座(11);胶圈套在吸盘的外表面上,扳机通过转动轴(20)固定于枪形体上;其特征在于:所述枪形体上设置有可拆卸式吸负压装置(2),吸负压装置内设置有负压泵(24),吸气管内为与负压泵吸气口相通的吸气通道(10);牵引座与推套之间的枪形体上固定有导向板(12),导向板的两侧设置有转轴(16),左牵引绳(14)和右牵引绳(13)的一端分别固定于牵引座的两侧,另一端绕过导向板上的两转轴后形成一根主牵引绳(15),主牵引绳缠绕于转动轴上;扳机转动的过程中,通过主牵引绳的牵引可驱使推管将胶圈推出。

2.根据权利要求1所述的一次性注射套扎治疗器,其特征在于:所述枪形体(1)上固定扳机(19)的位置处开设有L形缺口(33),L形缺口的下方设置有斜面凸起(32),扳机的侧面上设置有与斜面凸起相配合的斜坡部(30),斜坡部形成使扳机只能向后转动的阻挡面(31);所述牵引座(11)与导向板(12)之间的吸气管(4)的外围设置有使主牵引绳(15)始终处于张紧状态的支撑弹簧(17)。

3.根据权利要求2所述的一次性注射套扎治疗器,其特征在于:所述扳机(19)的侧面上开设有用于对主牵引绳(15)的末端进行固定的下沉通孔(38),下沉通孔处的转动轴(20)上设置有使主牵引绳处于转动轴中心位置的导线斜块(39)。

4.根据权利要求1或2所述的一次性注射套扎治疗器,其特征在于:所述吸负压装置(2)由控制电路、负压泵(24)、蓄电池和气体压力传感器组成,吸负压装置通过插接口与枪形体(1)可拆卸连接,负压泵通过三通管分别与压力传感器和插接口相连通,吸气管(4)通过连通管(34)与插接口相连通;吸负压装置的壳体上设置有开关按键(25)、消压按键(26)、电源指示灯(27)、负压指示灯(28)和充电接口,开关按键控制负压泵进行工作,消压按键停止负压泵的工作,充电接口用于对蓄电池进行充电。

5.根据权利要求1或2所述的一次性注射套扎治疗器,其特征在于:所述枪形体(1)内壁的两侧均设置有两条对导向板(12)进行导向和限位的导向筋(21),同侧的两条导向筋之间设置有对导向板进行定位的限位块(22),枪形体的内壁上设置有对主牵引绳(15)进行导向的支撑轴(18)。

6.根据权利要求5所述的一次性注射套扎治疗器,其特征在于:所述支撑轴(18)的中央位置处固定有定滑轮(40),主牵引绳(15)位于定滑轮的凹槽内。

7.根据权利要求1或2所述的一次性注射套扎治疗器,其特征在于:所述扳机(19)由两形状一致且相互平行的左扳体(36)和右扳体(37)组成,左扳体和右扳体上均匀设置有4个扳机齿(35),左扳体与右扳体通过转动轴(20)相连接;主牵引绳15缠绕在转动轴上,转动轴的周长为4×3.14mm,吸盘(5)的外表面上相邻两胶圈(7)之间的距离为3.14mm。

8.根据权利要求1或2所述的一次性注射套扎治疗器,其特征在于:所述枪形体(1)的外表面上设置有用于固定注射器的注射器固定座(29),吸盘(5)上设置有与注射器相配合的针头座(9)。

我要求购
我不想找了,帮我找吧
您有专利需要变现?
我要出售
智能匹配需求,快速出售