欢迎来到知嘟嘟! 联系电话:13336804447 卖家免费入驻,海量在线求购! 卖家免费入驻,海量在线求购!
知嘟嘟
我要发布
联系电话:13336804447
知嘟嘟经纪人
收藏
专利号: 2024205080177
专利类型:实用新型
专利状态:未下证
专利领域: 暂无
更新日期:2024-10-26
缴费截止日期: 暂无
价格&联系人
年费信息
委托购买

摘要:

权利要求书:

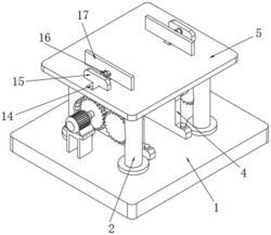
1.一种机电设备安装用支撑平衡装置,包括底座(1),所述底座(1)的顶部设置有两组对称的支撑柱(2),两组所述支撑柱(2)的外壁开设有相同的弧形槽(10),所述支撑柱(2)的内部设置有伸缩杆(3),所述底座(1)的顶部位于两组所述支撑柱(2)之间还设置有两个固定板(4),其特征在于:两个所述固定板(4)侧壁开设的通孔内设置有带动伸缩杆(3)上下移动的转动机构,所述伸缩杆(3)的顶部还连接有平衡板(5);

所述转动机构包括第一轴杆(6)和第二轴杆(7),所述第一轴杆(6)的两端穿过两个所述固定板(4)侧壁开设的轴孔,且与第一齿轮(8)的侧面相连接;

所述第二轴杆(7)的两端过两个所述固定板(4)侧壁开设的轴孔,且与第二齿轮(9)的侧面相连接,所述第一齿轮(8)与第二齿轮(9)之间啮合安装,所述第一齿轮(8)与第二齿轮(9)的一侧还与支撑柱(2)内设置的伸缩杆(3)靠近外壁弧形槽(10)处露出的卡槽(11)之间相适配啮合;

其中一个所述第二齿轮(9)的另一侧还与正反电机(12)的输出端相连接,所述正反电机(12)固定安装在底座(1)顶部靠近支撑柱(2)边缘处设置的固定座(13)上;

所述平衡板(5)的顶部靠近两端位置处开设有两个滑槽(14),两个所述滑槽(14)的内部穿出有T形板(15),所述T形板(15)的一侧设置有夹紧组件,所述T形板(15)的一端穿过滑槽(14)且连接有带动夹紧组件左右移动的转动组件;

所述夹紧组件包括两个弹簧伸缩杆(16),两个所述弹簧伸缩杆(16)的一端与T形板(15)的一侧相连接,所述弹簧伸缩杆(16)的另一端与夹紧板(17)的一侧相连接。

2.根据权利要求1所述的一种机电设备安装用支撑平衡装置,其特征在于:所述转动组件包括转动电机(18),所述转动电机(18)固定安装在平衡板(5)底部设置的滑槽块(19)之间设置的U形固定架(20)顶部,所述转动电机(18)的输出端还设置有第三齿轮(21)。

3.根据权利要求2所述的一种机电设备安装用支撑平衡装置,其特征在于:所述第三齿轮(21)的两侧啮合安装有两个L形齿条板(22),两个所述L形齿条板(22)的一端滑动安装在滑槽块(19)内,所述L形齿条板(22)的另一端与T形板(15)的一端相连接。