欢迎来到知嘟嘟! 联系电话:13336804447 卖家免费入驻,海量在线求购! 卖家免费入驻,海量在线求购!
知嘟嘟
我要发布
联系电话:13336804447
知嘟嘟经纪人
收藏
专利号: 2023233505410
专利类型:实用新型
专利状态:未下证
专利领域: 暂无
更新日期:2024-06-05
缴费截止日期: 暂无
价格&联系人
年费信息
委托购买

摘要:

权利要求书:

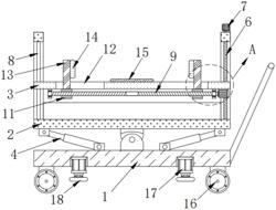
1.一种机电设备安装用平衡设备,其特征在于,包括:

底板;

支撑架,所述支撑架铰接安装在所述底板的顶部;

支撑板,所述支撑板滑动安装在所述支撑架上;

多个电动伸缩杆,多个所述电动伸缩杆均铰接安装在所述底板的顶部,且多个所述电动伸缩杆的输出杆均与所述支撑架铰接连接;

水平仪,所述水平仪固定安装在所述支撑架的一侧外壁上。

2.根据权利要求1所述的机电设备安装用平衡设备,其特征在于,所述支撑架上转动安装有单向螺杆,所述单向螺杆螺纹贯穿所述支撑板,所述支撑架的顶部固定安装有第一电机,所述第一电机的输出轴与所述单向螺杆的一端固定连接。

3.根据权利要求2所述的机电设备安装用平衡设备,其特征在于,所述支撑架上固定安装有多个辅助杆,多个所述辅助杆均滑动贯穿所述支撑板。

4.根据权利要求1所述的机电设备安装用平衡设备,其特征在于,所述支撑板的底部固定安装有两个固定板和第二电机,两个所述固定板上转动安装有双向螺杆,所述第二电机的输出轴与所述双向螺杆的一端固定连接,所述支撑板的底部滑动安装有两个滑条,两个所述滑条均与所述双向螺杆螺纹连接。

5.根据权利要求4所述的机电设备安装用平衡设备,其特征在于,所述支撑板上开设有两个限位槽,两个所述限位槽内均滑动安装有挡板,两个所述挡板分别与两个所述滑条固定连接,两个所述挡板相对应的一侧均固定安装有挤压垫,所述支撑板的顶部固定安装有防滑垫。

6.根据权利要求1所述的机电设备安装用平衡设备,其特征在于,所述底板的底部固定安装有多个行走轮,所述底板的一侧固定安装有推拉扶手。

7.根据权利要求1所述的机电设备安装用平衡设备,其特征在于,所述底板的底部开设有多个安装槽,多个所述安装槽内均固定安装有液压杆,多个所述液压杆的输出杆上均固定安装有顶升块。