欢迎来到知嘟嘟! 联系电话:13336804447 卖家免费入驻,海量在线求购! 卖家免费入驻,海量在线求购!
知嘟嘟
我要发布
联系电话:13336804447
知嘟嘟经纪人
收藏
专利号: 2023227936039
专利类型:实用新型
专利状态:未下证
专利领域: 暂无
更新日期:2024-05-21
缴费截止日期: 暂无
价格&联系人
年费信息
委托购买

摘要:

权利要求书:

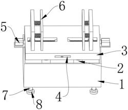
1.一种机电设备安装用平衡设备,包括底座(1),其特征在于:所述底座(1)的内部固定连接有气缸(2),所述气缸(2)的顶部固定连接有放置板(3),所述放置板(3)的内部固定连接有夹持机构(5),所述夹持机构(5)包括有支撑板(501),所述支撑板(501)的顶部固定连接有电机(502),所述电机(502)的输出轴通过联轴器固定连接有螺纹杆(503),所述螺纹杆(503)的外壁螺纹连接有限位环(504),所述限位环(504)的外壁固定连接有夹持板(505),所述螺纹杆(503)的另一端转动连接有固定套(506)。

2.根据权利要求1所述的一种机电设备安装用平衡设备,其特征在于:所述放置板(3)的一侧面固定连接有水平仪(4),所述水平仪(4)水平镶嵌在放置板(3)的一侧。

3.根据权利要求1所述的一种机电设备安装用平衡设备,其特征在于:所述夹持板(505)的一侧面固定连接有减震机构(6),所述减震机构(6)包括有伸缩柱(601),所述伸缩柱(601)的外壁活动连接有弹簧(602),所述伸缩柱(601)的另一端固定连接有固定板(603)。

4.根据权利要求1所述的一种机电设备安装用平衡设备,其特征在于:所述底座(1)的底部固定连接有支腿(7),所述支腿(7)的底部固定连接有防滑垫(8)。

5.根据权利要求1所述的一种机电设备安装用平衡设备,其特征在于:所述支撑板(501)、电机(502)、螺纹杆(503)、限位环(504)、夹持板(505)、固定套(506)的数量设置有多个,且以放置板(3)的垂直中线为对称轴对称设置。

6.根据权利要求1所述的一种机电设备安装用平衡设备,其特征在于:所述气缸(2)的数量设置为多个,且气缸(2)以底座(1)的垂直中线为对称轴对称设置。

7.根据权利要求3所述的一种机电设备安装用平衡设备,其特征在于:所述弹簧(602)的一端固定连接在夹持板(505)上,且弹簧(602)位于伸缩柱(601)的外侧,且所述伸缩柱(601)、弹簧(602)、固定板(603)的数量设置为多个。