欢迎来到知嘟嘟! 联系电话:13336804447 卖家免费入驻,海量在线求购! 卖家免费入驻,海量在线求购!
知嘟嘟
我要发布
联系电话:13336804447
知嘟嘟经纪人
收藏
专利号: 2024204971687
专利类型:实用新型
专利状态:未下证
专利领域: 暂无
更新日期:2024-08-12
缴费截止日期: 暂无
价格&联系人
年费信息
委托购买

摘要:

权利要求书:

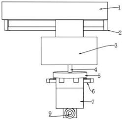
1.一种基于物联网的检测报警设备,包括安装座(1),其特征在于:所述安装座(1)的表面开设有安装孔,所述安装座(1)的底端安装有移动组件(2),所述移动组件(2)的底端栓接有旋转箱(3),所述旋转箱(3)的内腔安装有用于调整检测报警设备角度的调节组件(4),所述调节组件(4)的底端固定连接有转盘(5),所述转盘(5)的底端设置有方便进行快速拆装的拆装结构(6),所述拆装结构(6)的底端固定连接有外壳(7),所述外壳(7)的表面开设有透气孔(8),所述外壳(7)的底端固定连接有红外热像仪(9),所述外壳(7)的内腔分别设置有物联网模块(10)、控制模块(11)、烟雾检测报警器(12)。

2.根据权利要求1所述的一种基于物联网的检测报警设备,其特征在于:所述移动组件(2)包括电动滑轨(21),所述电动滑轨(21)的顶端与安装座(1)的底端固定连接,所述电动滑轨(21)上设置有电动滑台(22),所述电动滑台(22)的底端与旋转想的顶端固定连接,所述电动滑轨(21)与电动滑台(22)滑动连接。

3.根据权利要求1所述的一种基于物联网的检测报警设备,其特征在于:所述调节组件(4)包括电动马达(41),所述电动马达(41)固定安装在旋转箱(3)的内腔,所述电动马达(41)的输出端固定连接有主动齿轮(42),所述主动齿轮(42)通过啮合连接有从动齿轮(43),所述从动齿轮(43)的中心处开设有通孔,所述从动齿轮(43)通孔的内腔插接固定有旋转杆(44),所述旋转杆(44)外表面的两端均通过轴承与旋转箱(3)的内腔转动连接,所述旋转杆(44)的顶端贯穿旋转箱(3)并于转盘(5)的底端固定连接。

4.根据权利要求3所述的一种基于物联网的检测报警设备,其特征在于:所述主动齿轮(42)和从动齿轮(43)的形状均呈锥形设置,所述主动齿轮(42)和从动齿轮(43)的角度位置呈九十度设置。

5.根据权利要求1所述的一种基于物联网的检测报警设备,其特征在于:所述拆装结构(6)包括固定块(61)和固定座(62),所述固定块(61)的顶端与转盘(5)的底端固定连接,所述固定座(62)的底端与外壳(7)的顶端固定连接,所述固定块(61)表面与固定座(62)表面相对应的位置开设有槽口,所述固定块(61)表面与固定座(62)槽口的内腔滑动连接,所述固定座(62)的两端均安装有定位组件(63)。

6.根据权利要求5所述的一种基于物联网的检测报警设备,其特征在于:所述定位组件(63)包括定位槽(631),所述定位槽(631)开设在固定块(61)的表面,所述定位槽(631)表面与固定座(62)内侧壁相对应的位置开设有固定槽(632),所述固定槽(632)的内腔插接滑动有金属定位块(633),所述金属定位块(633)的一端固定连接有拉杆(634),所述定位槽(631)的设置有两组。

7.根据权利要求6所述的一种基于物联网的检测报警设备,其特征在于:所述金属定位块(633)的形状呈凹状设置,所述金属定位块(633)与定位槽(631)相向的位置设置有磁铁(13),所述磁铁(13)粘接在定位槽(631)内腔的底端,所述磁铁(13)与金属定位块(633)磁吸连接。