欢迎来到知嘟嘟! 联系电话:13336804447 卖家免费入驻,海量在线求购! 卖家免费入驻,海量在线求购!
知嘟嘟
我要发布
联系电话:13336804447
知嘟嘟经纪人
收藏
专利号: 2024200075473
专利类型:实用新型
专利状态:未下证
专利领域: 暂无
更新日期:2024-08-25
缴费截止日期: 暂无
价格&联系人
年费信息
委托购买

摘要:

权利要求书:

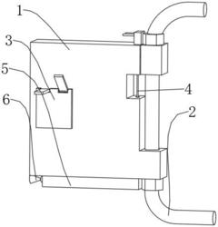
1.一种物联网报警装置,包括主板(1),其特征在于,所述主板(1)内部右端可拆卸连接有电线(2),所述主板(1)内部开设有空腔,所述主板(1)内部空腔内壁上端固定连接有保险丝(4),所述主板(1)内部空腔滑动连接有重力块(7),所述重力块(7)上端与保险丝(4)下端固定连接,所述主板(1)内部空腔上端转动连接有螺旋杆(9),所述螺旋杆(9)与重力块(7)内部螺旋传动,所述主板(1)内部空腔内壁下端固定连接有支撑块(10),所述支撑块(10)与重力块(7)对应侧之间弹性连接有弹簧(8),所述主板(1)内腔右侧底壁固定连接有限位杆(22),且限位杆(22)依次自下而上依次贯穿弹簧(8)和重力块(7)的内部,所述螺旋杆(9)下端设有传动组件,所述传动组件用于传递重力块(7)提供的动力,所述主板(1)下端固定连接有支撑架(11),所述支撑架(11)下端固定连接有哨子(12),所述哨子(12)进风口安装有风扇(18),所述风扇(18)右端固定连接与传动组件。

2.根据权利要求1所述的一种物联网报警装置,其特征在于,所述传动组件包括第一柱齿轮(19),所述第一柱齿轮(19)上端与螺旋杆(9)下端固定连接,所述第一柱齿轮(19)啮合连接有第二柱齿轮(20),所述第二柱齿轮(20)转动连接于主板(1)下端,所述主板(1)下端左右两侧分别转动连接有滚轴(14)和转轴(23),所述滚轴(14)和转轴(23)外表面共同套接有皮带(13),所述转轴(23)下端固定连接有第三柱齿轮(21),所述滚轴(14)下端固定连接有第一锥齿轮(15),所述第一锥齿轮(15)外表面啮合连接有第二锥齿轮(16),所述第二锥齿轮(16)左侧固定连接有转杆(17),所述转杆(17)左端与风扇(18)固定连接。

3.根据权利要求1所述的一种物联网报警装置,其特征在于,所述主板(1)安装有物联网无线模块(3),所述物联网无线模块(3)用于发送无线信号。

4.根据权利要求2所述的一种物联网报警装置,其特征在于,所述第一柱齿轮(19)与第三柱齿轮(21)的齿轮比为8:1。

5.根据权利要求1所述的一种物联网报警装置,其特征在于,所述主板(1)下端固定连接有防尘罩(5),所述防尘罩(5)用于防护灰尘进入传动组件。

6.根据权利要求5所述的一种物联网报警装置,其特征在于,所述防尘罩(5)左侧安装有扩音器(6),所述扩音器(6)用于增大哨音。

7.根据权利要求1所述的一种物联网报警装置,其特征在于,所述保险丝(4)与电线(2)在主板(1)内部连接方式为电路并联式。