欢迎来到知嘟嘟! 联系电话:13336804447 卖家免费入驻,海量在线求购! 卖家免费入驻,海量在线求购!
知嘟嘟
我要发布
联系电话:13336804447
知嘟嘟经纪人
收藏
专利号: 2019207403389
申请人: 上海臻懿机械有限公司
专利类型:实用新型
专利状态:已下证
专利领域: 工程元件或部件;为产生和保持机器或设备的有效运行的一般措施;一般绝热
更新日期:2024-04-09
缴费截止日期: 暂无
价格&联系人
年费信息
委托购买

摘要:

权利要求书:

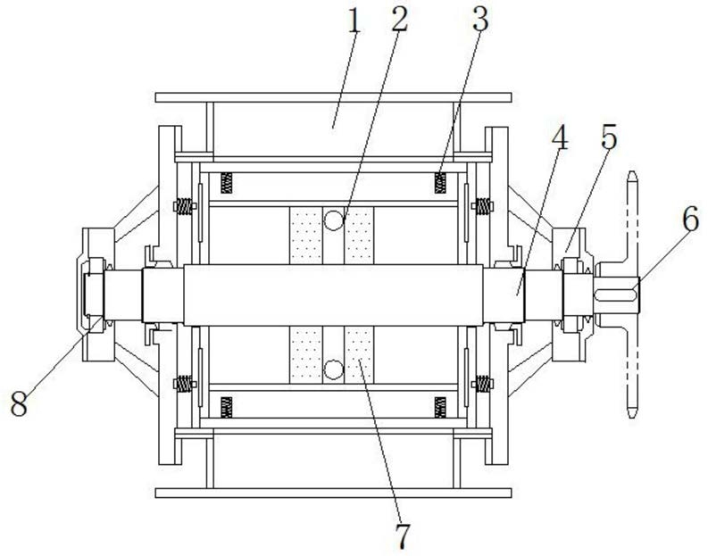
1.一种用于机电设备安装用平衡装置,包括基座(12),其特征在于,所述基座(12)的顶部外壁两侧均通过螺栓固定有电磁调节结构(13),且基座(12)的顶部外壁中部设置有调节空腔,所述调节空腔内壁通过铰链固定有调节筒,且调节筒的两侧外壁均焊接有侧防护架(1),两个所述侧防护架(1)的底端外壁通过螺栓固定在电磁调节结构(13)的顶端外壁上,且调节筒的两端外壁分别焊接有防回轴套(5)和稳定轴套(8),所述防回轴套(5)和稳定轴套(8)的内壁通过轴承连接有同一个主调节轴(4),且主调节轴(4)远离稳定轴套(8)的一端外壁通过螺栓固定有调节手轮(6),所述调节筒的内壁中部设置有环套(7),且环套(7)的内壁开有滑动凹槽,滑动凹槽内壁穿插有螺旋环(2),所述螺旋环(2)的一端连接在主调节轴(4)的外壁上,两侧所述侧防护架(1)的顶部外壁通过螺栓固定有同一个安装座(9)。2.根据权利要求1所述的一种用于机电设备安装用平衡装置,其特征在于,所述调节筒的外壁开有卡槽,且卡槽内壁卡接有外磁筒(11)。3.根据权利要求2所述的一种用于机电设备安装用平衡装置,其特征在于,所述调节筒和环套(7)之间设置有撑杆和磁限位块(3),且调节筒和外磁筒(11)的之间等距离环形分布有电磁铁,撑杆的一端连接在磁限位块(3)的内壁上,撑杆的另一端插接在环套(7)的内壁上。4.根据权利要求1所述的一种用于机电设备安装用平衡装置,其特征在于,所述安装座(9)的四侧内壁均通过螺栓固定有压力传感器(10),且压力传感器(10)的信号端通过信号线连接有PLC控制器。5.根据权利要求1所述的一种用于机电设备安装用平衡装置,其特征在于,所述电磁调节结构(13)包括电磁撑杆和支撑弹簧,且支撑弹簧套接在电磁撑杆的外壁上。6.根据权利要求1所述的一种用于机电设备安装用平衡装置,其特征在于,所述主调节轴(4)靠近调节手轮的外壁套接有止回环,且防回轴套(5)的内壁开有止回槽,止回环和止回槽之间形成卡接配合。7.根据权利要求5所述的一种用于机电设备安装用平衡装置,其特征在于,所述电磁撑杆连接有开关,且开关通过导线和PLC控制器相连接。