欢迎来到知嘟嘟! 联系电话:13336804447 卖家免费入驻,海量在线求购! 卖家免费入驻,海量在线求购!
知嘟嘟
我要发布
联系电话:13336804447
知嘟嘟经纪人
收藏
专利号: 202321301035X
专利类型:实用新型
专利状态:未下证
专利领域: 暂无
更新日期:2023-11-13
缴费截止日期: 暂无
价格&联系人
年费信息
委托购买

摘要:

权利要求书:

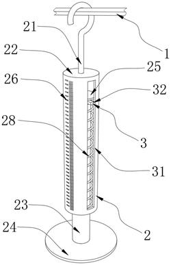
1.一种金属制品强度检测装置,包括金属工件(1),其特征在于:还包括设置在金属工件(1)一侧的检测组件(2),所述检测组件(2)包括钩子(21)、刻度壳(22)、拉杆(23)、压板(24)、滑块(25)、卡条(26)、内置弹簧(27)和受力弹簧(28),所述金属工件(1)的表面和所述钩子(21)的一端固定连接,且所述钩子(21)的另一端固定连接有和所述拉杆(23)的表面滑动的所述刻度壳(22),并且所述拉杆(23)远离所述刻度壳(22)的一端还固定安装有所述压板(24),同时所述拉杆(23)在所述刻度壳(22)内表面的一端还固定设置有和所述刻度壳(22)的内表面滑动连接的所述滑块(25),所述滑块(25)的内表面滑动连接有和所述刻度壳(22)卡合连接的所述卡条(26),且所述卡条(26)远离所述刻度壳(22)的一端和所述内置弹簧(27)的一端固定工连接,而所述内置弹簧(27)的另一端固定连接在所述滑块(25)的内表面上,所述滑块(25)的表面还和套接在所述拉杆(23)表面的所述受力弹簧(28)的一端固定连接,且所述受力弹簧(28)的另一端连接在所述刻度壳(22)的内表面上。

2.根据权利要求1所述的金属制品强度检测装置,其特征在于:所述刻度壳(22)的形状为中空且表面开设有矩形槽的圆柱。

3.根据权利要求1所述的金属制品强度检测装置,其特征在于:所述滑块(25)的内表面开设有“十”字状的槽。

4.根据权利要求1所述的金属制品强度检测装置,其特征在于:所述卡条(26)和所述刻度壳(22)的连接处形状为直角梯柱,且所述刻度壳(22)的表面还等距开设有和所述卡条(26)相匹配的孔。

5.根据权利要求1所述的金属制品强度检测装置,其特征在于:还包括设置在金属工件(1)一侧的复位组件(3),所述复位组件(3)包括滑槽(31)和拨条(32),所述滑槽(31)开设在所述钩子(21)的表面,且所述滑槽(31)和所述拨条(32)的表面滑动连接,并且所述拨条(32)和所述卡条(26)一体成型。

6.根据权利要求5所述的金属制品强度检测装置,其特征在于:所述滑槽(31)以所述刻度壳(22)的轴心为轴对称开设在所述刻度壳(22)的表面。

7.根据权利要求5所述的金属制品强度检测装置,其特征在于:所述拨条(32)的宽度小于所述滑槽(31)的宽度。