欢迎来到知嘟嘟! 联系电话:13336804447 卖家免费入驻,海量在线求购! 卖家免费入驻,海量在线求购!
知嘟嘟
我要发布
联系电话:13336804447
知嘟嘟经纪人
收藏
专利号: 2023217356982
申请人: 靖江市海源有色金属材料有限公司
专利类型:实用新型
专利状态:已下证
专利领域: 测量;测试
更新日期:2024-06-06
缴费截止日期: 暂无
价格&联系人
年费信息
委托购买

摘要:

权利要求书:

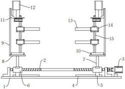
1.一种合金制品拉伸强度检测装置,其特征在于,包括底座(1),所述底座(1)的顶端通过支座转动连接有双向丝杆(2),所述双向丝杆(2)两侧的外壁上皆螺纹连接有螺母(6),所述螺母(6)顶端的中心位置处设有承载架(7),所述承载架(7)远离螺母(6)的一端设有基板(8),所述基板(8)顶端的一侧固定有侧板(9),所述基板(8)顶端的中心位置处设有基座(10),所述基座(10)上方的侧板(9)内壁上设有L型置件座(11),所述L型置件座(11)底部的两侧皆转动连接有螺旋杆(15),所述螺旋杆(15)的底端与基座(10)的顶端转动连接,所述L型置件座(11)下方的螺旋杆(15)外壁上皆固定有从动轮(17),所述L型置件座(11)与基座(10)之间的两组螺旋杆(15)外壁上皆螺纹连接有联动座(14),所述联动座(14)一侧的外壁上皆设有夹头(13)。

2.根据权利要求1所述的一种合金制品拉伸强度检测装置,其特征在于:所述底座(1)顶端的一侧通过支座安装有旋转驱动件(3),所述旋转驱动件(3)的一端与双向丝杆(2)的一端固定连接。

3.根据权利要求1所述的一种合金制品拉伸强度检测装置,其特征在于:所述螺母(6)下方的底座(1)顶端皆设有导轨(4),所述导轨(4)一侧的外壁上滑动连接有轨块(5),所述轨块(5)的顶端与螺母(6)的底端固定连接。

4.根据权利要求1所述的一种合金制品拉伸强度检测装置,其特征在于:所述L型置件座(11)的顶端安装有电机(12),所述电机(12)的底端贯穿L型置件座(11)并设有主动轮(16),所述主动轮(16)与从动轮(17)之间的外壁上缠绕有传动带(18)。

5.根据权利要求1所述的一种合金制品拉伸强度检测装置,其特征在于:所述夹头(13)内部的一侧设有主管体(19),所述主管体(19)的底端设有等间距的吸气管(20),所述吸气管(20)的底端延伸至夹头(13)的外部。

6.根据权利要求5所述的一种合金制品拉伸强度检测装置,其特征在于:所述主管体(19)一侧的夹头(13)底部安装有抽气泵(21),所述抽气泵(21)的一端通过导管与主管体(19)的外壁相连通,所述抽气泵(21)的另一端通过导管延伸至夹头(13)的外部。