欢迎来到知嘟嘟! 联系电话:13336804447 卖家免费入驻,海量在线求购! 卖家免费入驻,海量在线求购!
知嘟嘟
我要发布
联系电话:13336804447
知嘟嘟经纪人
收藏
专利号: 2024210856296
专利类型:实用新型
专利状态:未下证
专利领域: 暂无
更新日期:2025-04-29
缴费截止日期: 暂无
价格&联系人
年费信息
委托购买

摘要:

权利要求书:

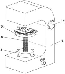
1.一种金属制品局部强度检测器,包括底座(1),所述底座(1)上间隔设有压头(7)和转盘(3),所述转盘(3)螺纹连接有丝杆(5),所述丝杆(5)朝向压头(7)延伸设置,所述丝杆(5)靠近压头(7)的一端连接有检测台(6),所述检测台(6)与压头(7)之间的距离可通过转动转盘(3)调整,其特征在于:所述检测台(6)上设置有调节组件(8),所述调节组件(8)包括与检测台(6)转动连接的第一齿轮(81)和固定在检测台(6)上第一滑轨(83),所述第一齿轮(81)啮合有第一齿条(82),所述第一齿条(82)在第一滑轨(83)上滑动,所述第一齿条(82)固定连接有第一移动板(84),所述第一移动板(84)上固定连接有第二滑轨(87),所述第一移动板(84)上转动连接有第二齿轮(85),所述第二齿轮(85)啮合有第二齿条(86),所述第二齿条(86)在第二滑轨(87)上滑动,所述第二齿条(86)固定连接有第二移动板(88)。

2.根据权利要求1所述的一种金属制品局部强度检测器,其特征在于:所述第二移动板(88)上设置有夹持组件(9),所述夹持组件(9)包括固定连接在第二移动板(88)上的固定板(93)和夹持板(97),所述固定板(93)和夹持板(97)之间设置有推板(94),所述推板(94)转动连接有螺杆(92),所述螺杆(92)贯穿固定板(93)并与固定板(93)螺纹连接,所述螺杆(92)远离推板(94)的一端固定连接有旋钮(91)。

3.根据权利要求2所述的一种金属制品局部强度检测器,其特征在于:所述推板(94)为U型板,其开口朝向夹持板(97),所述推板(94)通过弹簧(95)弹性连接有压板(96),所述压板(96)设置在推板(94)和夹持板(97)之间。

4.根据权利要求1所述的一种金属制品局部强度检测器,其特征在于:所述第一移动板(84)与检测台(6)滑动连接,所述第二移动板(88)与第一移动板(84)滑动连接。

5.根据权利要求1所述的一种金属制品局部强度检测器,其特征在于:所述转盘(3)上安装有多组把手(4)。

6.根据权利要求1所述的一种金属制品局部强度检测器,其特征在于:所述底座(1)上安装有转换器(2)。