欢迎来到知嘟嘟! 联系电话:13336804447 卖家免费入驻,海量在线求购! 卖家免费入驻,海量在线求购!
知嘟嘟
我要发布
联系电话:13336804447
知嘟嘟经纪人
收藏
专利号: 2023211331572
申请人: 郑州智新交通设备有限公司
专利类型:实用新型
专利状态:已下证
专利领域: 铁路
更新日期:2025-01-09
缴费截止日期: 暂无
价格&联系人
年费信息
委托购买

摘要:

权利要求书:

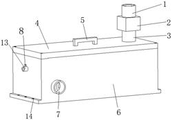
1.一种便于更护维护的列车用污物箱,其特征在于:包括连接管(1),所述连接管(1)外表面的一侧固定连接有抽水泵(2),所述抽水泵(2)的底部固定连接有进水管(3),所述进水管(3)的底部固定连接有水箱盖(4),所述水箱盖(4)的顶部固定连接有抓取把手(5),所述水箱盖(4)的底部固定连接有污物箱(6),所述污物箱(6)的一侧固定连接有排水管(7),所述污物箱(6)的内部开设有卡槽(9),所述污物箱(6)的内部设置有浮球(10)。

2.根据权利要求1所述的一种便于更护维护的列车用污物箱,其特征在于:隔板(11)的外表面与卡槽(9)的内表面相适配,所述隔板(11)的外表面卡接于卡槽(9)的内表面。

3.根据权利要求2所述的一种便于更护维护的列车用污物箱,其特征在于:所述浮球(10)的外表面固定连接有固定链(12),所述固定链(12)的底部固定连接与污物箱(6)的内部。

4.根据权利要求3所述的一种便于更护维护的列车用污物箱,其特征在于:所述隔板(11)的数量为3个,所述隔板(11)的厚度为2mm‑4mm,所述隔板(11)的表面开设有若干通孔。

5.根据权利要求4所述的一种便于更护维护的列车用污物箱,其特征在于:所述污物箱(6)的一侧固定连接有冲洗接口(13),所述冲洗接口(13)的一侧固定连接有一个阀门(8)。

6.根据权利要求5所述的一种便于更护维护的列车用污物箱,其特征在于:所述污物箱(6)的两侧均固定连接有一个固定板(14),所述固定板(14)的顶部开设有若干第一螺栓孔。

7.根据权利要求6所述的一种便于更护维护的列车用污物箱,其特征在于:所述水箱盖(4)的顶部开设有若干第二螺栓孔,所述污物箱(6)的顶部开设有若干第三螺栓孔,所述水箱盖(4)与污物箱(6)通过螺栓固定连接。

我要求购
我不想找了,帮我找吧
您有专利需要变现?
我要出售
智能匹配需求,快速出售