欢迎来到知嘟嘟! 联系电话:13336804447 卖家免费入驻,海量在线求购! 卖家免费入驻,海量在线求购!
知嘟嘟
我要发布
联系电话:13336804447
知嘟嘟经纪人
收藏
专利号: 2020216340733
申请人: 朱惠芳
专利类型:实用新型
专利状态:已下证
专利领域: 铁路
更新日期:2025-05-13
缴费截止日期: 暂无
价格&联系人
年费信息
委托购买

摘要:

权利要求书:

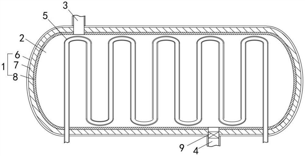
1.一种铁路列车用污物箱,包括箱体(1)、开设在箱体(1)内部的储存腔(2),连接在箱体(1)上端的进料管(3)和连接在箱体(1)底面的出料管(4),其特征在于,所述储存腔(2)的内部设置有输气管(5),所述输气管(5)的两端贯穿箱体(1)延伸至外部,其中所述输气管(5)的一端与列车空调外机的出风口连通;

所述箱体(1)包括内层(8)、保温层(7)和外层(6)构成,所述内层(8)位于保温层(7)的内侧,所述外层(6)位于保温层(7)的外侧。

2.根据权利要求1所述的一种铁路列车用污物箱,其特征在于,所述输气管(5)由多个U形管连通构成,所述输气管(5)采用导热效果好的铜或铝材料制成。

3.根据权利要求1所述的一种铁路列车用污物箱,其特征在于,所述保温层(7)内填充有隔热棉。

4.根据权利要求1所述的一种铁路列车用污物箱,其特征在于,所述外层(6)和内层(8)均采用刚材料制成,并且所述外层(6)的外表面涂覆有防锈漆。

5.根据权利要求1所述的一种铁路列车用污物箱,其特征在于,所述出料管(4)内设置有控制阀(9)。

6.根据权利要求1所述的一种铁路列车用污物箱,其特征在于,所述进料管(3)的一端与箱体(1)内部连通,所述进料管(3)的另一端与列车坐便器的下料管连通。