欢迎来到知嘟嘟! 联系电话:13336804447 卖家免费入驻,海量在线求购! 卖家免费入驻,海量在线求购!
知嘟嘟
我要发布
联系电话:13336804447
知嘟嘟经纪人
收藏
专利号: 2023200484714
申请人: 深圳市博的家具有限公司
专利类型:实用新型
专利状态:已下证
专利领域: 缝纫;绣花;簇绒
更新日期:2025-02-24
缴费截止日期: 暂无
价格&联系人
年费信息
委托购买

摘要:

权利要求书:

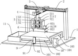
1.一种自动缝纫机,其特征在于:包括机架(1)、X轴移动机构(2)、Y轴移动机构(3)、安装架(4)、缝合机构(6)、第一驱动机构(5)、缝纫台(10)以及稳固机构(9),所述X轴移动机构(2)设置在所述机架(1)上;所述Y轴移动机构(3)与所述X轴移动机构(2)相连接以能做X方向上的位移;所述安装架(4)与所述Y轴移动机构(3)相连接以能做Y方向上的位移;所述缝合机构(6)与所述安装架(4)相连接以能做Z方向上的位移;所述第一驱动机构(5)设置在所述机架(1)上,所述第一驱动机构(5)与所述缝合机构(6)相连接;所述缝纫台(10)设置在所述机架(1)上,所述缝纫台(10)供缝料放置;所述稳固机构(9)设置在所述机架(1)上,在缝料缝合时,所述稳固机构(9)用于使缝料在所述缝纫台(10)上保持预定姿态。

2.根据权利要求1所述的一种自动缝纫机,其特征在于:所述缝纫台(10)具有两个夹紧面(101),两个所述夹紧面(101)分别位于所述缝纫台(10)相对的两个外侧上,所述稳固机构(9)包括两个夹块(91)以及两个夹紧气缸(92),所述夹块(91)滑动连接在所述机架(1)上,两个所述夹块(91)分别与两个所述夹紧面(101)相配合以夹持缝料;所述夹紧气缸(92)设置在所述机架(1)上,两个所述夹紧气缸(92)分别与两个所述夹块(91)相连接。

3.根据权利要求2所述的一种自动缝纫机,其特征在于:还包括有切割机构(8)以及第二驱动机构(7),所述切割机构(8)包括安装滑块(81)、刀具(82)以及转动电机(83),所述安装滑块(81)与所述安装架(4)滑动连接以能做Z方向上的位移;所述刀具(82)一端转动连接在所述安装滑块(81)上,所述刀具(82)另一端具有切削刃;所述转动电机(83)设置在所述安装滑块(81)上,所述转动电机(83)与所述刀具(82)传动连接;所述第二驱动机构(7)设置在所述机架(1)上,所述第二驱动机构(7)与所述安装滑块(81)相连接。

4.根据权利要求3所述的一种自动缝纫机,其特征在于:所述夹块(91)分为滑动部(912)以及固定部(911),所述滑动部(912)设置在所述夹块(91)靠近所述缝纫台(10)的一侧上;所述固定部(911)与所述滑动部(912)滑动连接,所述固定部(911)与所述夹紧气缸(92)相连接;所述稳固机构(9)还包括卸料气缸(913),所述卸料气缸(913)设置在所述固定部(911)上,所述卸料气缸(913)与所述滑动部(912)相连接。

5.根据权利要求1所述的一种自动缝纫机,其特征在于:所述第一驱动机构(5)包括Z1滑移架(51)、Z1丝杠(52)以及第一Z轴电机(53),所述Z1滑移架(51)与所述安装架(4)滑动连接,所述Z1滑移架(51)与所述缝合机构(6)相连接;所述Z1丝杠(52)的两端通过轴承与所述Z1滑移架(51)转动连接,所述Z1丝杠(52)螺纹穿设所述安装架(4)上;所述第一Z轴电机(53)设置在所述Z1滑移架(51)上,所述第一Z轴电机(53)与所述Z1丝杠(52)传动连接。

6.根据权利要求3所述的一种自动缝纫机,其特征在于:所述第二驱动机构(7)包括Z2滑移架(71)、Z2丝杠(72)以及第二Z轴电机(73),所述Z2滑移架(71)与所述安装架(4)滑动连接,所述Z2滑移架(71)与所述安装滑块(81)相连接;所述Z2丝杠(72)的一端与所述Z2滑移架(71)转动连接、另一端与所述安装滑块(81)转动连接,所述Z2丝杠(72)螺纹穿设在所述安装架(4)上;所述第二Z轴电机(73)设置在所述Z2滑移架(71)上,所述第二Z轴电机(73)与所述Z2丝杠(72)传动连接。

7.根据权利要求1所述的一种自动缝纫机,其特征在于:所述缝纫台(10)相对的两个外表面设置有滑槽(102);所述机架(1)上设置有清扫滑块(103),所述清扫滑块(103)分为嵌入部(1031)以及推动部(1032),所述嵌入部(1031)滑动设置在滑槽(102)中;所述推动部(1032)与所述嵌入部(1031)相连接,所述推动部(1032)与所述缝纫台(10)上供缝料放置的表面相抵接;所述机架(1)上还设置有清扫驱动机构(104),所述清扫驱动机构(104)与所述清扫滑块(103)相连接。

8.根据权利要求7所述的一种自动缝纫机,其特征在于:所述机架(1)上设置有物料收集箱(11),所述物料收集箱(11)位于所述推动部(1032)的滑动路径延长线上。