欢迎来到知嘟嘟! 联系电话:13336804447 卖家免费入驻,海量在线求购! 卖家免费入驻,海量在线求购!
知嘟嘟
我要发布
联系电话:13336804447
知嘟嘟经纪人
收藏
专利号: 2020100124156
申请人: 河南工程学院
专利类型:发明专利
专利状态:已下证
专利领域: 缝纫;绣花;簇绒
更新日期:2024-01-05
缴费截止日期: 暂无
价格&联系人
年费信息
委托购买

摘要:

权利要求书:

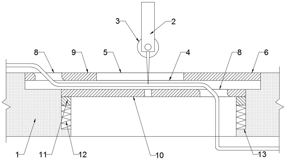
1.一种缝纫机夹板自动缝纫装置,包括缝纫机工作台(1)、上压脚(2)、滚缝纫槽(5)和静压板(6),其特征在于,所述缝纫机工作台(1)上镶嵌有静压板(6),静压板(6)上设有缝纫槽(5),缝纫槽(5)上方设有上压脚(2),上压脚(2)安装在缝纫机上,静压板(6)内穿设有布料(4),静压板(6)上还设有用于布料(4)穿入的布料进口槽(7)和用于布料(4)穿出的布料出口槽(8)。

2.根据权利要求1所述的缝纫机夹板自动缝纫装置,其特征在于,所述上压脚(2)底部一侧或两侧安装有滚轮(3)。

3.根据权利要求1或2所述的缝纫机夹板自动缝纫装置,其特征在于,所述静压板(6)包括上压板(9)和下托板(10),上压板(9)设置在缝纫机工作台(1)的镶嵌槽内,上压板(9)表面与缝纫机工作台(1)表面平齐,所述下托板(10)设置在上压板(9)的下方。

4.根据权利要求3所述的缝纫机夹板自动缝纫装置,其特征在于,所述下托板(10)滑动设置在缝纫机工作台(1)的限位滑槽(13)内,限位滑槽(13)内安装有限位弹簧(12),限位弹簧(12)顶部与下托板(10)上的弹簧座(11)相连接。

5.根据权利要求4所述的缝纫机夹板自动缝纫装置,其特征在于,所述布料进口槽(7)设置在上压板(9)上,布料出口槽(8)设置在下托板(10)上,布料进口槽(7)和布料出口槽(8)分布在静压板(6)的缝纫槽(5)两侧。

6.根据权利要求3所述的缝纫机夹板自动缝纫装置,其特征在于,所述上压板(9)和下托板(10)之间还安装有驱动辊(17),驱动辊(17)安装在驱动轴(16)上,驱动轴(16)连接电机(15)。

7.根据权利要求6所述的缝纫机夹板自动缝纫装置,其特征在于,所述驱动辊(17)下方设有托辊(18),布料(4)从驱动辊(17)和托辊(18)之间穿过。

8.根据权利要求3所述的缝纫机夹板自动缝纫装置,其特征在于,所述上压板(9)和下托板(10)之间安装有吸合电磁铁(14)。

我要求购
我不想找了,帮我找吧
您有专利需要变现?
我要出售
智能匹配需求,快速出售