欢迎来到知嘟嘟! 联系电话:13336804447 卖家免费入驻,海量在线求购! 卖家免费入驻,海量在线求购!
知嘟嘟
我要发布
联系电话:13336804447
知嘟嘟经纪人
收藏
专利号: 2022232082560
申请人: 焦作市双巍新材料有限公司
专利类型:实用新型
专利状态:已下证
专利领域: 工程元件或部件;为产生和保持机器或设备的有效运行的一般措施;一般绝热
更新日期:2025-03-05
缴费截止日期: 暂无
价格&联系人
年费信息
委托购买

摘要:

权利要求书:

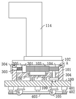
1.一种提升机用旋转底座,包括底板(100)和设置在所述底板(100)上的调节筒(101),所述调节筒(101)的上端安装旋转托盘(102),所述旋转托盘(102)的下端固定连接调节齿轮(103),其特征在于:在所述调节齿轮(103)的左右两侧分别设置主动齿轮(104)和止回装置(300),所述主动齿轮(104)的下端连接驱动装置(200),在所述底板(100)的底部设置固定装置(400),在所述固定装置(400)内侧的所述底板(100)外表面上均匀间隔设置若干万向轮(105)。

2.如权利要求1所述的提升机用旋转底座,其特征在于:在所述调节筒(101)的中部安装支撑板(106),所述支撑板(106)的中部设置与所述调节齿轮(103)相适配的第一转动轴承(107),在所述主动齿轮(104)下端的所述支撑板(106)上开设转轴孔(108)。

3.如权利要求2所述的提升机用旋转底座,其特征在于:所述驱动装置(200)包括转动设置在所述转轴孔(108)内的旋转轴(201),所述旋转轴(201)的上端连接所述主动齿轮(104),在所述支撑板(106)下端的所述旋转轴(201)中部套设调节转盘(202),在所述底板(100)上安装与所述转轴相适配的第二转动轴承(109)。

4.如权利要求2所述的提升机用旋转底座,其特征在于:所述止回装置(300)包括设置在调节齿轮(103)外侧的卡块(301),在所述卡块(301)的内侧开设与所述调节齿轮(103)相适配的卡槽(302),所述卡块(301)的外侧连接固定柱(303),自由滑穿所述调节筒(101)的所述固定柱(303)外端连接制动板(304),在所述调节筒(101)和所述卡块(301)之间的所述固定柱(303)上套设压缩弹簧(305)。

5.如权利要求2所述的提升机用旋转底座,其特征在于:所述固定装置(400)包括均匀间隔设置在所述底板(100)底部的四个伸缩电机(401),所述伸缩电机(401)的下端连接固定环(402)。

6.如权利要求2所述的提升机用旋转底座,其特征在于:在所述调节筒(101)的上端开设环形滑槽(110),在所述旋转托盘(102)的底部均匀间隔安装若干滚轮(111),所述滚轮(111)滑动设置在所述环形滑槽(110)内。

7.如权利要求5所述的提升机用旋转底座,其特征在于:所述固定环(402)的下端设置橡胶防滑垫片(403)。

8.如权利要求2所述的提升机用旋转底座,其特征在于:在所述调节筒(101)的外侧开设操作窗(112),所述操作窗(112)上铰接带有把手的箱门(113)。

我要求购
我不想找了,帮我找吧
您有专利需要变现?
我要出售
智能匹配需求,快速出售