欢迎来到知嘟嘟! 联系电话:13336804447 卖家免费入驻,海量在线求购! 卖家免费入驻,海量在线求购!
知嘟嘟
我要发布
联系电话:13336804447
知嘟嘟经纪人
收藏
专利号: 2023223366604
申请人: 无锡工艺职业技术学院
专利类型:实用新型
专利状态:已下证
专利领域: 手动工具;轻便机动工具;手动器械的手柄;车间设备;机械手
更新日期:2024-07-22
缴费截止日期: 暂无
价格&联系人
年费信息
委托购买

摘要:

权利要求书:

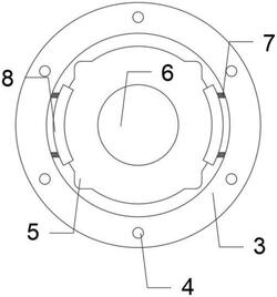
1.一种陶瓷加工用夹持底座,包括夹持底座(1)和夹持凹槽(2),其特征在于:所述夹持底座(1)顶端开设有夹持凹槽(2),夹持底座(1)包括底座主体(3)和防滑脚垫(4),底座主体(3)底端固定连接有防滑脚垫(4),防滑脚垫(4)设有六组且对称设置在底座主体(3)底端,夹持凹槽(2)包括置物槽(5)和紧固槽(6),置物槽(5)内壁居中开设有紧固槽(6),置物槽(5)整体为圆形,置物槽(5)四角为凸起的方形圆角设计。

2.根据权利要求1所述的一种陶瓷加工用夹持底座,其特征在于:所述底座主体(3)内壁固定连接有弹簧(7),弹簧(7)设有四组且对称设置在底座主体(3)内壁两侧,同侧的两组弹簧(7)一侧与橡胶夹板(8)固定连接。