欢迎来到知嘟嘟! 联系电话:13336804447 卖家免费入驻,海量在线求购! 卖家免费入驻,海量在线求购!
知嘟嘟
我要发布
联系电话:13336804447
知嘟嘟经纪人
收藏
专利号: 2022231441640
申请人: 青岛科技大学
专利类型:实用新型
专利状态:已下证
专利领域: 塑料的加工;一般处于塑性状态物质的加工
更新日期:2023-09-12
缴费截止日期: 暂无
价格&联系人
年费信息
委托购买

摘要:

权利要求书:

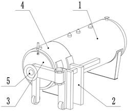
1.一种超临界流体发泡罐快开装置,其特征在于:包括能够与罐体连接部配合的罐盖,所述罐体连接部设置于卧式罐体的一端,所述罐盖通过翻转机构与支架相连,所述翻转机构用于使罐盖与罐体连接部的打开与闭合,所述支架设置于罐体连接部的一侧;所述罐盖的外部设有旋转机构,用于驱动罐盖与罐体连接部螺纹配合。

2.根据权利要求1所述的超临界流体发泡罐快开装置,其特征在于:所述罐体连接部的内壁上均布有多段间断的内螺纹,相邻两段内螺纹之间设有导向槽,所述罐盖与罐体连接部配合的外圆面上对应设有多段间断的外螺纹,相邻两段外螺纹之间设有开槽;所述导向槽所在圆柱面的直径与罐盖上外螺纹的大径一致;所述开槽处的直径与罐体连接部上内螺纹的小径一致。

3.根据权利要求2所述的超临界流体发泡罐快开装置,其特征在于:所述罐体连接部内壁上的内螺纹周向均分为三段,所述内螺纹为台阶式结构,包括罐体第一阶梯螺纹和罐体第二阶梯螺纹,所述罐体第一阶梯螺纹的螺牙高度大于罐体第二阶梯螺纹的螺牙高度,所述罐体第一阶梯螺纹和罐体第二阶梯螺纹的周向长度相等;所述导向槽、罐体第一阶梯螺纹和罐体第二阶梯螺纹依次排列,所述导向槽、罐体第一阶梯螺纹和罐体第二阶梯螺纹各自对应的中心角均为40度;

所述罐盖上的外螺纹沿周向均分为三段,所述外螺纹为台阶式结构,包括罐盖第一阶梯螺纹和罐盖第二阶梯螺纹,所述罐盖第一阶梯螺纹的螺牙高度大于罐盖第二阶梯螺纹的螺牙高度,所述罐盖第一阶梯螺纹和罐盖第二阶梯螺纹的周向长度相等;所述开槽、罐盖第二阶梯螺纹和罐盖第一阶梯螺纹依次排列,所述开槽、罐盖第二阶梯螺纹和罐盖第一阶梯螺纹各自对应的中心角均为40度;所述罐盖第二阶梯螺纹的螺牙顶部所在圆的直径与罐体第二阶梯螺纹的螺牙顶部所在圆的直径相等。

4.根据权利要求1所述的超临界流体发泡罐快开装置,其特征在于:所述罐体连接部的内壁为台阶式结构,所述罐体连接部的外部为与罐盖相配合的螺纹部、内部与罐体内腔贯通的过度腔。

5.根据权利要求4所述的超临界流体发泡罐快开装置,其特征在于:所述罐盖的内侧一端设有罐盖密封头,所述罐盖密封头能够与罐体连接部里侧的过度腔配合。

6.根据权利要求1所述的超临界流体发泡罐快开装置,其特征在于:所述翻转机构包括转向架和滚轮,所述转向架包括转臂、固定腿和转动腿,所述转臂的一端通过转轴与固定腿的顶部转动相连、另一端与转动腿的顶部固定相连;所述固定腿通过导向杆与支架相连,所述导向杆的长度方向平行于卧式罐体的中心轴线;所述固定腿及转动腿的底部均设有滚轮。

7.根据权利要求6所述的超临界流体发泡罐快开装置,其特征在于:所述支架包括两根以上并列设置的支柱及用于与卧式罐体和/或罐体连接部相连的固定块,所述固定块为与卧式罐体或罐体连接部外圆相匹配的弧形板,所述支柱是顶部固定于固定块的外侧壁上;

所述支柱的顶部设有用于与导向杆配合的导向孔。

8.根据权利要求6所述的超临界流体发泡罐快开装置,其特征在于:所述旋转机构包括连接轴和转盘,所述连接轴的一端与罐盖固连,所述连接轴的另一端贯穿转臂与转盘同轴固定,所述转盘设置于转臂的端部外侧。

9.根据权利要求1‑8任一项所述的超临界流体发泡罐快开装置,其特征在于:所述罐体连接部与罐盖的外部通过辅助锁紧机构相连,用于锁固配合后的罐盖和罐体连接部。

10.根据权利要求9所述的超临界流体发泡罐快开装置,其特征在于:所述辅助锁紧机构包括锁合销和锁销块,所述锁销块设置于罐盖的外壁上,所述锁合销通过连接块与罐体连接部的外壁相连,所述连接块设置于罐体连接部的顶部边缘上,所述连接块的末端及锁销块上均设有用于与锁合销配合的销孔。

我要求购
我不想找了,帮我找吧
您有专利需要变现?
我要出售
智能匹配需求,快速出售