欢迎来到知嘟嘟! 联系电话:13336804447 卖家免费入驻,海量在线求购! 卖家免费入驻,海量在线求购!
知嘟嘟
我要发布
联系电话:13336804447
知嘟嘟经纪人
收藏
专利号: 2018104897014
申请人: 杭州电子科技大学
专利类型:发明专利
专利状态:已下证
专利领域: 塑料的加工;一般处于塑性状态物质的加工
更新日期:2023-07-20
缴费截止日期: 暂无
价格&联系人
年费信息
委托购买

摘要:

权利要求书:

1.超临界C02流体的发泡方法,其特征在于,本方法包括如下步骤:

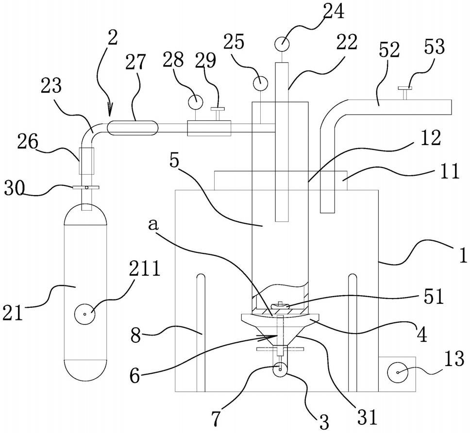
A、密封,打开气密盖(11),将产品置于高压釜(5)内底部的托架(51)中心,关闭气密盖(11),高压釜(5)置于密封缸体(1)中心的弧形托盘上,即,将产品密封在高压釜(5)内;

B、吹洗,将气瓶(21)打开,C02气体从进气管路(23)进入至竖直管路(22),最终C02气体进入至高压釜(5)内,吹洗2-3分钟,以便置换掉管路和高压釜(5)中的空气;

C、加热,加热管(8)通电从而对密封缸体(1)内的加热介质进行升温加热,加热介质和加热管(8)将高压釜(5)升温加热至略低于高压釜(5)内的实验温度,同时利用压缩机(27)向高压釜内打入高压C02气体,此时高压釜(5)内的温度随着高压C02气体压力的上升从而达到实验温度;

高压釜(5)在升温的过程中通过搅拌装置对加热介质进行搅拌;

D、保持,保持恒温和恒压;

E、取出,控制卸压时间,然后将高压釜内的压力降至常压,最后取出样品;

在上述的C步骤中,所述的密封缸体(1)内壁连接有悬臂式支撑管(3),在悬臂式支撑管(3)的悬空端连接有呈水平设置的弧形托盘(4),在弧形托盘(4)上设有高压釜(5)且弧形托盘(4)上表面与高压釜(5)的底部之间形成密封空腔(a),高压釜(5)的上端向上穿出至密封缸体(1)的顶部且并与加压装置(2)连接;在悬臂式支撑管(3)的悬空端还设有位于所述的弧形托盘(4)下方的搅拌装置(6),所述的搅拌装置(6)与穿于悬臂式支撑管(3)内的供电线路(7)连接;所述的弧形托盘(4)上表面具有弧形凹陷(41),高压釜(5)的底部外径小于弧形凹陷(41)敞口口径,且高压釜(5)底部置于弧形凹陷(41)的敞口处;

悬臂式支撑管呈L形,包括水平段和与水平段连接的竖直段,所述的竖直段轴心线与密封缸体的轴心线重合,所述的弧形托盘固定在竖直段上端;所述的竖直段上端连接有锥形套,锥形套呈竖直设置且锥形套的外径从上往下逐渐缩小,所述的弧形托盘固定在锥形套的上端;搅拌装置包括设置在悬臂式支撑管悬空端内的定子,定子与供电线路连接,在悬臂式支撑管悬空端外壁设有与悬臂式支撑管转动连接的外转子且外转子位于定子外侧,在定子的周向设有若干圆周分布的搅拌器。

2.根据权利要求1所述的超临界C02流体的发泡方法,其特征在于,在上述的A步骤中,所述的高压釜,其设计压力50MPa,设计温度250℃,高压釜内容积600mL。

3.根据权利要求1所述的超临界C02流体的发泡方法,其特征在于,在上述的A步骤中,所述的托架(51)上表面中心设有产品置放平面(511);以及与所述产品置放平面(511)周向连接的环形坡面(512),环形坡面(512)从外向内倾斜。

4.根据权利要求1所述的超临界C02流体的发泡方法,其特征在于,在上述的D步骤中,保持恒温采用加热管(8)和/或加热介质进行控制。

5.根据权利要求1所述的超临界C02流体的发泡方法,其特征在于,在上述的D步骤中,保持恒压采用压缩机(27),以及连接在高压釜(5)顶部的出气管路(52)进行控制,在出气管路(52)上连接有球形阀(53)。

6.根据权利要求1所述的超临界C02流体的发泡方法,其特征在于,所述的高压釜(5)底部周向设有与所述的弧形凹陷(41)相吻合的弧形凸面。

7.根据权利要求1所述的超临界C02流体的发泡方法,其特征在于,在上述的C步骤中,所述的加热管(8)分布在高压釜(5)的周向。

我要求购
我不想找了,帮我找吧
您有专利需要变现?
我要出售
智能匹配需求,快速出售