欢迎来到知嘟嘟! 联系电话:13336804447 卖家免费入驻,海量在线求购! 卖家免费入驻,海量在线求购!
知嘟嘟
我要发布
联系电话:13336804447
知嘟嘟经纪人
收藏
专利号: 202221801695X
申请人: 东台市康隆车业有限公司
专利类型:实用新型
专利状态:已下证
专利领域: 无轨陆用车辆
更新日期:2025-01-31
缴费截止日期: 暂无
价格&联系人
年费信息
委托购买

摘要:

权利要求书:

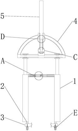
1.一种可稳定调节间距的自行车用避震前叉,包括:减震架(1)与套环(2),其特征在于;

所述减震架(1)底端连接有套环(2),所述套环(2)内壁嵌合有连接杆(3),所述减震架(1)顶端设置有固定架(4),所述固定架(4)之间设置有支撑杆(5);

第一内螺纹套筒(6),连接在所述减震架(1)之间,所述减震架(1)侧面套接有连接筒(7),且第一内螺纹套筒(6)与连接筒(7)同为矩形状,所述连接筒(7)内部连接有第一轴承(8),所述第一内螺纹套筒(6)与第一轴承(8)之间贯穿连接有双向螺纹杆(9),所述双向螺纹杆(9)侧面连接有第一啮齿轮(10);

旋转杆(11),贯穿连接在所述连接筒(7)内部,靠近第一啮齿轮(10),所述旋转杆(11)的端部连接有第二啮齿轮(12),所述减震架(1)的端部连接有滑套(13),所述滑套(13)滑动套接在固定架(4)的侧面,所述滑套(13)内壁连接有导向块(14),靠近导向块(14)的所述固定架(4)侧面开设有导向槽(15)。

2.根据权利要求1所述的一种可稳定调节间距的自行车用避震前叉,其特征在于:所述旋转杆(11)与连接筒(7)之间构成旋转结构,且旋转杆(11)与第二啮齿轮(12)为一体结构,并且第二啮齿轮(12)与第一啮齿轮(10)之间构成齿合结构。

3.根据权利要求1所述的一种可稳定调节间距的自行车用避震前叉,其特征在于:所述导向块(14)与滑套(13)为一体结构,且导向块(14)与导向槽(15)之间为滑动连接,并且导向块(14)的截面与导向槽(15)的截面尺寸相同。

4.根据权利要求1所述的一种可稳定调节间距的自行车用避震前叉,其特征在于:所述固定架(4)还设置有固定套筒(16)、限位块(17)、固定块(18)、第二轴承(19)、第一螺纹杆(20)、转动块(21)、螺纹槽(22)与限位槽(23);

固定套筒(16),连接在所述固定架(4)的顶部,所述固定套筒(16)套接在支撑杆(5)的侧面,所述固定套筒(16)内壁连接有限位块(17),靠近限位块(17)的所述支撑杆(5)的侧面开设有限位槽(23),所述支撑杆(5)底端开设有螺纹槽(22);

固定块(18),连接在所述固定架(4)的侧面,所述固定块(18)顶部连接有第二轴承(19),所述第二轴承(19)与螺纹槽(22)之间贯穿连接有第一螺纹杆(20),所述第一螺纹杆(20)侧面连接有转动块(21)。

5.根据权利要求4所述的一种可稳定调节间距的自行车用避震前叉,其特征在于:所述固定套筒(16)与限位块(17)为一体结构,且限位块(17)与限位槽(23)之间为滑动连接。

6.根据权利要求4所述的一种可稳定调节间距的自行车用避震前叉,其特征在于:所述第一螺纹杆(20)与转动块(21)为一体结构,且第一螺纹杆(20)与固定块(18)之间通过第二轴承(19)构成旋转结构。

7.根据权利要求1所述的一种可稳定调节间距的自行车用避震前叉,其特征在于:所述连接杆(3)侧面开设有插槽(24),所述套环(2)还设置有滑动槽(25)、第二螺纹杆(26)、第二内螺纹套筒(27)与限位板(28);

滑动槽(25),开设在所述套环(2)的内壁上,所述滑动槽(25)内部贯穿连接有第二螺纹杆(26);

第二内螺纹套筒(27),连接在所述第二螺纹杆(26)的侧面,所述第二内螺纹套筒(27)的顶端嵌合在插槽(24)内部,所述第二内螺纹套筒(27)的底端连接有限位板(28),且限位板(28)与滑动槽(25)之间为滑动连接。

8.根据权利要求7所述的一种可稳定调节间距的自行车用避震前叉,其特征在于:所述第二螺纹杆(26)与滑动槽(25)之间构成旋转结构,且第二螺纹杆(26)与第二内螺纹套筒(27)之间为螺纹连接。

我要求购
我不想找了,帮我找吧
您有专利需要变现?
我要出售
智能匹配需求,快速出售