欢迎来到知嘟嘟! 联系电话:13336804447 卖家免费入驻,海量在线求购! 卖家免费入驻,海量在线求购!
知嘟嘟
我要发布
联系电话:13336804447
知嘟嘟经纪人
收藏
专利号: 2021215008745
申请人: 海安金隆金属科技有限公司
专利类型:实用新型
专利状态:已下证
专利领域: 无轨陆用车辆
更新日期:2024-04-11
缴费截止日期: 暂无
价格&联系人
年费信息
委托购买

摘要:

权利要求书:

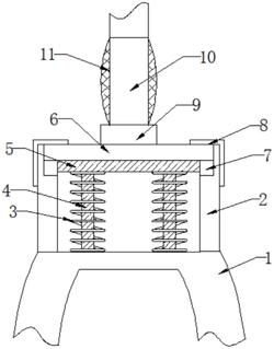
1.一种减震自行车前叉,包括双叉支撑杆(1),其特征在于:所述双叉支撑杆(1)顶部设有圆柱形室(2),所述双叉支撑杆(1)的上表面两端且位于圆柱形室(2)的内部设置有弹簧管(3),所述弹簧管(3)内部设置有橡胶立柱(4),所述弹簧管上端固定连接有吸震回弹块(5),所述吸震回弹块(5)为橡胶材质,所述吸震回弹块(5)的顶端设置有金属板(6),所述金属板(6)顶端设有连接栓(9),所述连接栓(9)上轴接竖杆(10),所述竖杆(10)的一圈包裹一层海绵胶套(11)。

2.根据权利要求1所述的一种减震自行车前叉,其特征在于:所述圆柱形室(2)一圈内壁顶部设有竖形腔(7),所述金属板(6)两端延伸至圆柱形室(2)一圈内壁的竖形腔(7)内。

3.根据权利要求1所述的一种减震自行车前叉,其特征在于:所述圆柱形室(2)两侧顶端固定连接有直角挡板(8)。

4.根据权利要求1所述的一种减震自行车前叉,其特征在于:所述海绵胶套(11)在竖杆(10)上设置两到三个。