欢迎来到知嘟嘟! 联系电话:13336804447 卖家免费入驻,海量在线求购! 卖家免费入驻,海量在线求购!
知嘟嘟
我要发布
联系电话:13336804447
知嘟嘟经纪人
收藏
专利号: 2022210812316
申请人: 黑龙江瑞科悉科技有限公司
专利类型:实用新型
专利状态:已下证
专利领域: 测量;测试
更新日期:2024-06-08
缴费截止日期: 暂无
价格&联系人
年费信息
委托购买

摘要:

权利要求书:

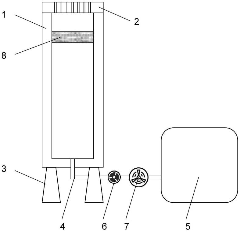
1.一种玻璃钢浮盘耐压测试装置,其特征在于,包括测试装置外壳(1)、测试装置顶盖(2)、支撑架(3)、不锈钢管线(4)、储液罐(5),所述测试装置外壳(1)顶部布置有连接接口(10),所述连接接口(10)与测试装置顶盖(2)螺纹连接,所述测试装置外壳(1)底部布置有支撑架(3),所述测试装置外壳(1)底部通过不锈钢管线(4)与储液罐(5)相连接,所述不锈钢管线(4)上布置有阀门(6)、增压泵(7),所述测试装置外壳(1)外壁布置有压力表(9),所述测试装置顶盖(2)内布置有透气孔(11)。

2.根据权利要求1所述的一种玻璃钢浮盘耐压测试装置,其特征在于,所述测试装置外壳(1)材质为不锈钢。

3.根据权利要求1所述的一种玻璃钢浮盘耐压测试装置,其特征在于,所述测试装置顶盖(2)材质为不锈钢。