欢迎来到知嘟嘟! 联系电话:13336804447 卖家免费入驻,海量在线求购! 卖家免费入驻,海量在线求购!
知嘟嘟
我要发布
联系电话:13336804447
知嘟嘟经纪人
收藏
专利号: 2022216105395
申请人: 黑龙江瑞科悉科技有限公司
专利类型:实用新型
专利状态:已下证
专利领域: 测量;测试
更新日期:2024-06-06
缴费截止日期: 暂无
价格&联系人
年费信息
委托购买

摘要:

权利要求书:

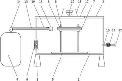
1.一种玻璃钢浮盘燃烧发烟性能测试装置,其特征在于,包括装置外壳(1)、装置顶盖(2)、支撑架(3)、压缩天然气罐(4),所述装置外壳(1)与装置顶盖(2)通过折页(20)连接、通过卡扣(21)固定,所述装置外壳(1)底部布置有支撑架(3),所述装置外壳(1)内部布置有燃烧底座(5),所述燃烧底座(5)上布置有丝杆(6),所述装置外壳(1)上布置有进气风扇(9),所述装置外壳(1)表面连接有排气管(10),所述排气管(10)上布置有阀门(11),所述排气管(10)末端布置有连接接口(12),所述压缩天然气罐(4)顶部连接有天然气管(13),所述天然气管(13)上布置有流量调节阀(14),所述天然气管(13)伸入装置外壳(1)内部布置,所述天然气管(13)排出端布置有燃烧喷头(15),所述天然气管(13)表面与燃烧喷头(15)连接处布置有电点火器(16),所述装置顶盖(2)上布置有观察口(17),所述观察口(17)顶面布置有观察罩(18),所述观察罩(18)内布置有防爆摄像头(19),所述装置外壳(1)包括支撑层(22)、防火层(23),所述支撑层(22)布置于防火层(23)外壁。

2.如权利要求1所述一种玻璃钢浮盘燃烧发烟性能测试装置,其特征在于,所述丝杆(6)布置有四个。

3.如权利要求1所述一种玻璃钢浮盘燃烧发烟性能测试装置,其特征在于,所述防火层(23)材质为石棉。

4.如权利要求1所述一种玻璃钢浮盘燃烧发烟性能测试装置,其特征在于,所述支撑层(22)材质为不锈钢。

5.如权利要求1所述一种玻璃钢浮盘燃烧发烟性能测试装置,其特征在于,所述天然气管(13)材质为不锈钢。

6.如权利要求1所述一种玻璃钢浮盘燃烧发烟性能测试装置,其特征在于,所述燃烧喷头(15)材质为不锈钢。