欢迎来到知嘟嘟! 联系电话:13336804447 卖家免费入驻,海量在线求购! 卖家免费入驻,海量在线求购!
知嘟嘟
我要发布
联系电话:13336804447
知嘟嘟经纪人
收藏
专利号: 2020218563967
申请人: 苏州瑞盟山橡塑制品有限公司
专利类型:实用新型
专利状态:已下证
专利领域: 测量;测试
更新日期:2026-03-02
缴费截止日期: 暂无
价格&联系人
年费信息
委托购买

摘要:

权利要求书:

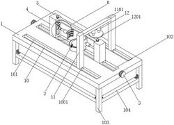
1.一种玻璃杯耐压测试装置,包括立板(4)、测试桌面(1)以及设置在测试桌面(1)上端面的中心的缓冲装置(2),其特征在于:所述立板(4)对称设置有两组,且立板(4)的一侧开设有第二活动槽(401),所述立板(4)的上端面安装有第二电机(5),且立板(4)的一侧固定安装有放置板(402) ,所述第二电机(5)通过电机轴连接有一组活动安装在第二活动槽(401)内的第二螺纹轴(501),所述第二螺纹轴(501)的外缘面上螺纹配合安装有一组第二活动块(502),所述第二活动块(502)的一侧延伸出第二活动槽(401)且固定安装有轴承座(7),所述轴承座(7)内活动连接有一组转轴(701),所述转轴(701)的一端固定连接有第一电动升缩杆(8) ,且转轴(701)的外缘面上设置有配合第一齿轮(601)安装的第二齿轮(702),所述第一电动升缩杆(8)的一端固定连接有抵接板(9);所述缓冲装置(2)包括圆筒(13),所述圆筒(13)内开设有缓冲仓(1301),所述缓冲仓(1301)的底部内对称设置有两组套筒(15),所述套筒(15)内铰接安装有一组弹簧(1501),所述弹簧(1501)的一端铰接连接有T型板(1502),所述T型板(1502)的一端延伸出套筒(15)且固定连接有放置盘(14)。2.根据权利要求1所述的一种玻璃杯耐压测试装置,其特征在于:所述测试桌面(1)的上端面居中对称开设有两组第一活动槽(102),且测试桌面(1)的两侧均安装有第一电机(3),所述第一电机(3)通过电机轴连接有活动安装在第一活动槽(102)内的第一螺纹轴(301),所述第一螺纹轴(301)的外缘面上螺纹配合安装有第一活动块(302),所述第一活动块(302)的上端面与立板(4)的下端面固定连接。3.根据权利要求1所述的一种玻璃杯耐压测试装置,其特征在于:所述测试桌面(1)的上端面两侧对称开设有两组滑动槽(101),所述滑动槽(101)内固定安装有一组滑动轴(10),所述滑动轴(10)的外缘面上滑动配合安装有一组滑动块(1001)。4.根据权利要求3所述的一种玻璃杯耐压测试装置,其特征在于:所述滑动块(1001)的上端面固定连接有安装板(11),所述安装板(11)的一侧上方固定连接有承载板(1101),所述承载板(1101)的下端面对称固定安装有两组第二电动升缩杆(12),所述第二电动升缩杆(12)远离承载板(1101)的一端固定连接有压接板(1201)。5.根据权利要求1所述的一种玻璃杯耐压测试装置,其特征在于:所述测试桌面(1)的下端面四角均固定安装有支撑腿(103),相邻两组所述支撑腿(103)之间安装有支撑横梁(104),所述支撑横梁(104)的上端面与支撑腿(103)的连接处通过十字螺栓固定设置有L型紧固板。