欢迎来到知嘟嘟! 联系电话:13336804447 卖家免费入驻,海量在线求购! 卖家免费入驻,海量在线求购!
知嘟嘟
我要发布
联系电话:13336804447
知嘟嘟经纪人
收藏
专利号: 2021233432425
申请人: 苏州华驰汽车部件有限公司
专利类型:实用新型
专利状态:已下证
专利领域: 一般车辆
更新日期:2024-07-03
缴费截止日期: 暂无
价格&联系人
年费信息
委托购买

摘要:

权利要求书:

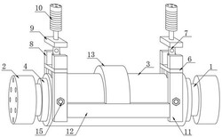
1.一种基于空气悬挂调节车架高度的挂车车轴,包括车轴本体(1),其特征在于:所述车轴本体(1)两端均设置有安装板(2),所述车轴本体(1)外侧设置有防护套(3),所述安装板(2)与防护套(3)之间设置有轴承(4),所述防护套(3)外侧设置有调节机构;

所述调节机构包括支撑块(5),所述支撑块(5)设置在防护套(3)顶部,所述支撑块(5)顶部设置有固定板(6),所述固定板(6)顶部设置有液压缸(7),所述液压缸(7)两侧均设置有挡板(8),所述挡板(8)设置在固定板(6)顶部,所述液压缸(7)顶部设置有移动板(9),所述移动板(9)顶部设置有空气减震器(10);

所述固定板(6)底部设置有支撑板(11),所述支撑板(11)一侧设置有连接板(12),所述连接板(12)顶部设置有套环(13)。

2.根据权利要求1所述的一种基于空气悬挂调节车架高度的挂车车轴,其特征在于:所述支撑板(11)前侧表面设置有第一螺纹孔(14),所述第一螺纹孔(14)内部设置有螺栓(15),所述防护套(3)外侧表面设置有第二螺纹孔(16)。

3.根据权利要求2所述的一种基于空气悬挂调节车架高度的挂车车轴,其特征在于:所述螺栓(15)设置在第二螺纹孔(16)内部,所述第一螺纹孔(14)和第二螺纹孔(16)均与螺栓(15)螺纹连接。

4.根据权利要求1所述的一种基于空气悬挂调节车架高度的挂车车轴,其特征在于:所述挡板(8)和支撑板(11)数量均设置为多个,所述连接板(12)的数量设置为两个,所述套环(13)横截面形状设置为弧形。

5.根据权利要求1所述的一种基于空气悬挂调节车架高度的挂车车轴,其特征在于:所述套环(13)底部设置有定位卡板(17),所述防护套(3)顶部表面设置有定位卡槽(18)。

6.根据权利要求5所述的一种基于空气悬挂调节车架高度的挂车车轴,其特征在于:所述定位卡板(17)与定位卡槽(18)活动卡接,所述定位卡板(17)由碳钢材料制成。